专利数据库
统计分析
产业报告
专利数据监控
产业人才
行业动态
产业政策法规
维权援助
个人中心
详情
文本
图像
标题
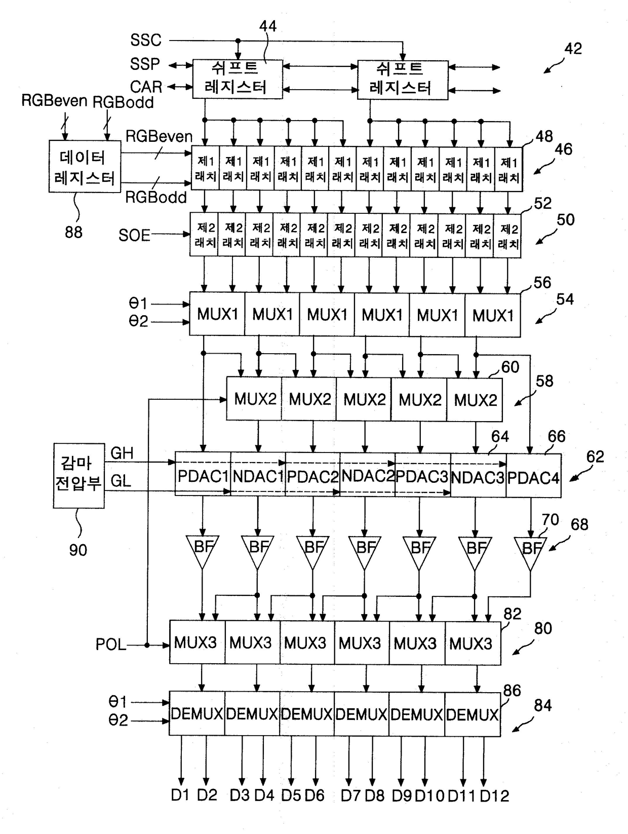
액정표시장치의 데이터 구동 장치 및 방법
授权日
1900-01-01
公开(公告)号
KR1020040048519A
申请日
2002-12-03
公开(公告)日
2004-06-10
当前申请(专利权)人
엘지디스플레이 주식회사
发明人
안승국 | 강신호
简单同族
KR100894643B1 | KR1020040048519A | US20040104880A1 | US7038652
简单同族成员数量
4
简单同族被引用专利总数
96
诉讼案件数
0
法律状态/事件
未缴年费
抱歉,您的浏览器不支持PDF预览,请点击链接下载PDF文件