专利数据库
统计分析
产业报告
专利数据监控
产业人才
行业动态
产业政策法规
维权援助
个人中心
详情
文本
图像
标题
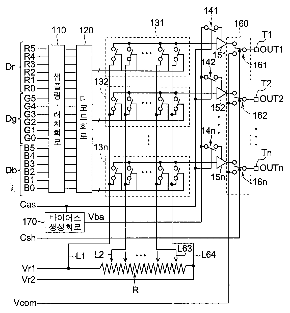
표시장치, 그 구동회로 및 구동방법
授权日
2005-11-01
公开(公告)号
KR100527157B1
申请日
2003-02-07
公开(公告)日
2005-11-09
当前申请(专利权)人
샤프 가부시키가이샤
发明人
쿠마다코우지 | 오타타카시게 | 카가와하루히토
简单同族
CN1311419C | CN1437175A | JP2003302951A | JP4225777B2 | KR100527157B1 | KR1020030067582A | TW200307897A | TWI283846B | US20030151572A1 | US7098885
简单同族成员数量
10
简单同族被引用专利总数
136
诉讼案件数
0
法律状态/事件
放弃
抱歉,您的浏览器不支持PDF预览,请点击链接下载PDF文件