专利数据库
统计分析
产业报告
专利数据监控
产业人才
行业动态
产业政策法规
维权援助
个人中心
详情
文本
图像
标题
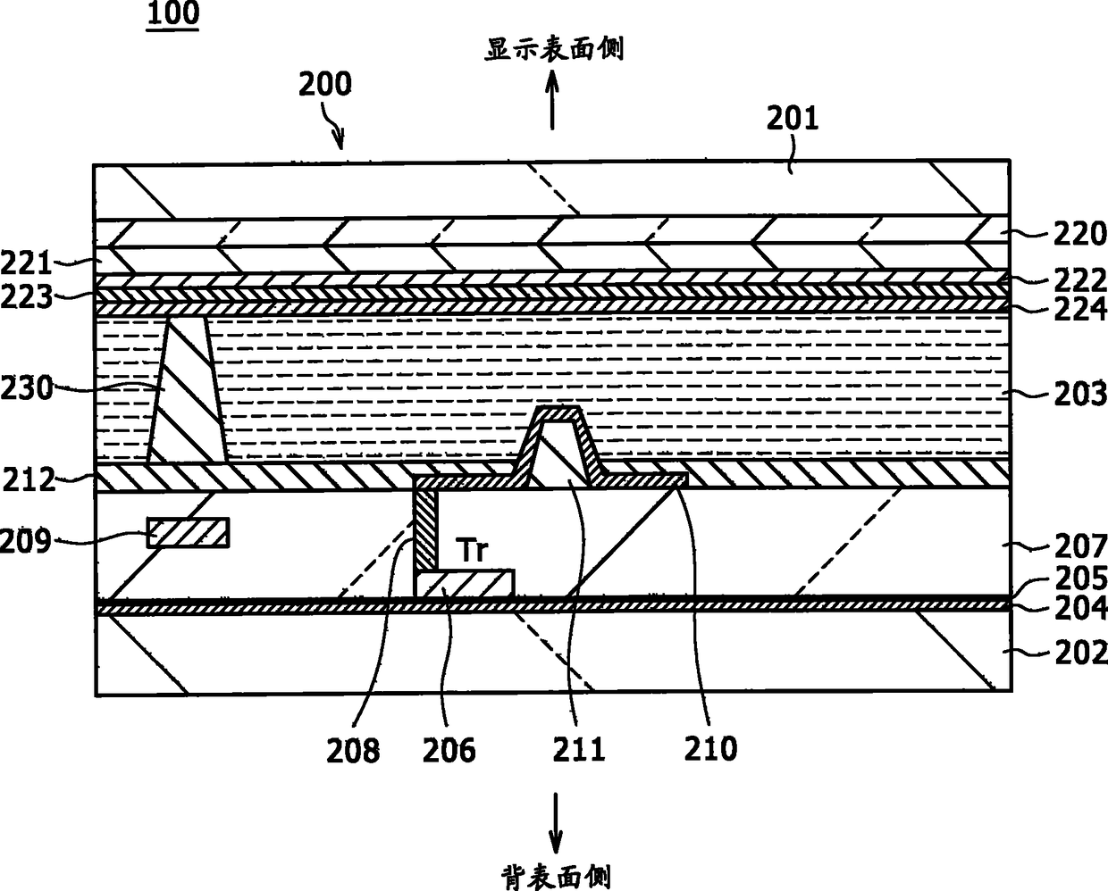
液晶显示装置及其制造方法
授权日
2012-11-28
公开(公告)号
CN101644841B
申请日
2009-08-07
公开(公告)日
2012-11-28
当前申请(专利权)人
株式会社日本显示器西
发明人
小糸健夫 | 野口幸治
简单同族
CN101644841A | CN101644841B | JP2010039380A | JP2010039380A5 | JP5571298B2 | KR101609879B1 | KR1020100019367A | TW201013256A | TWI416214B | US20100033448A1 | US8786571
简单同族成员数量
11
简单同族被引用专利总数
74
诉讼案件数
0
法律状态/事件
授权 | 权利转移
抱歉,您的浏览器不支持PDF预览,请点击链接下载PDF文件