专利数据库
统计分析
产业报告
专利数据监控
产业人才
行业动态
产业政策法规
维权援助
个人中心
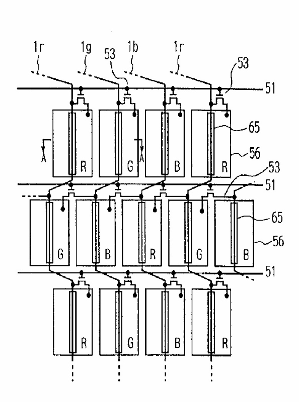
详情
文本
图像
标题
컬러 액정 표시 장치
授权日
1900-01-01
公开(公告)号
KR1020000053656A
申请日
2000-01-28
公开(公告)日
2000-08-25
当前申请(专利权)人
산요덴키가부시키가이샤
发明人
마쯔다히로시
简单同族
JP2000221524A | KR100440843B1 | KR1020000053656A | TW573192B | US6396554
简单同族成员数量
5
简单同族被引用专利总数
50
诉讼案件数
0
法律状态/事件
放弃
抱歉,您的浏览器不支持PDF预览,请点击链接下载PDF文件