专利数据库
统计分析
产业报告
专利数据监控
产业人才
行业动态
产业政策法规
维权援助
个人中心
详情
文本
图像
标题
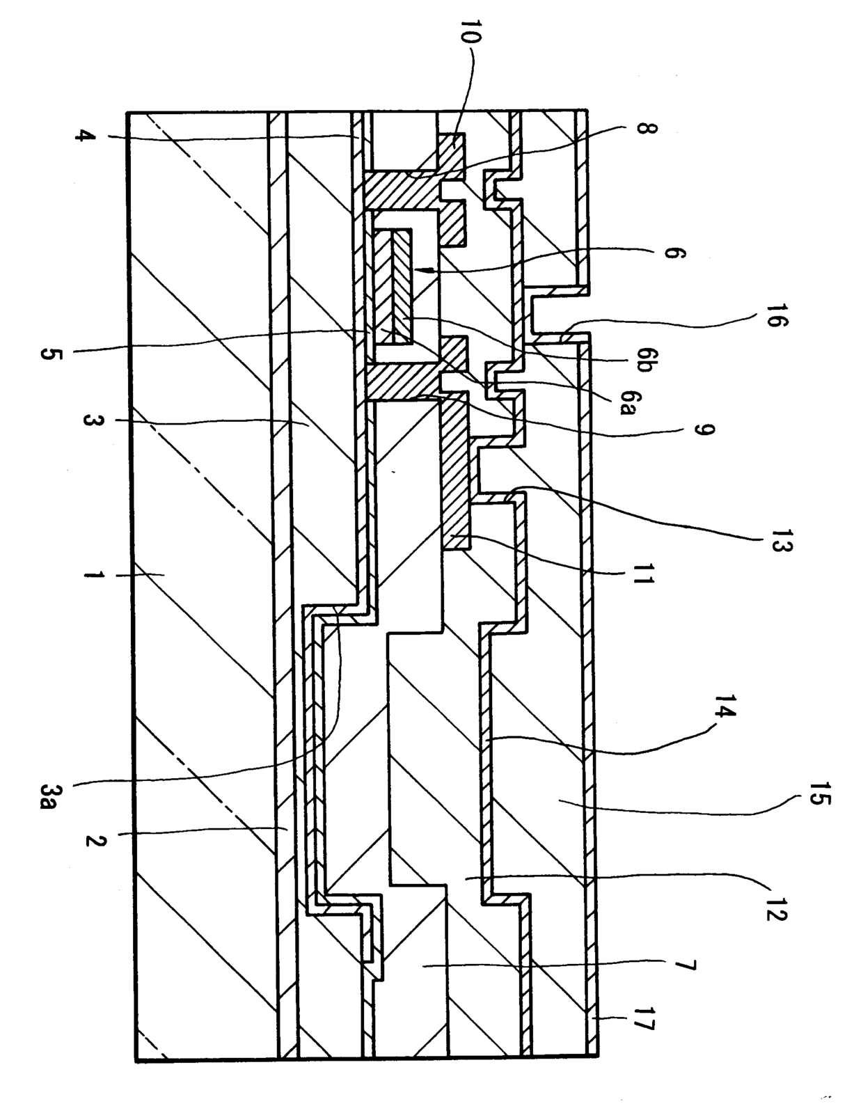
액정표시장치 및 그 제조방법
授权日
2007-06-12
公开(公告)号
KR100729791B1
申请日
2000-08-11
公开(公告)日
2007-06-20
当前申请(专利权)人
소니 주식회사
发明人
와다도모히로 | 사토다쿠세이 | 아베후미아키
简单同族
JP2001066631A | KR100729791B1 | KR1020010021271A | US6583828
简单同族成员数量
4
简单同族被引用专利总数
63
诉讼案件数
0
法律状态/事件
未缴年费
抱歉,您的浏览器不支持PDF预览,请点击链接下载PDF文件