专利数据库
统计分析
产业报告
专利数据监控
产业人才
行业动态
产业政策法规
维权援助
个人中心
详情
文本
图像
标题
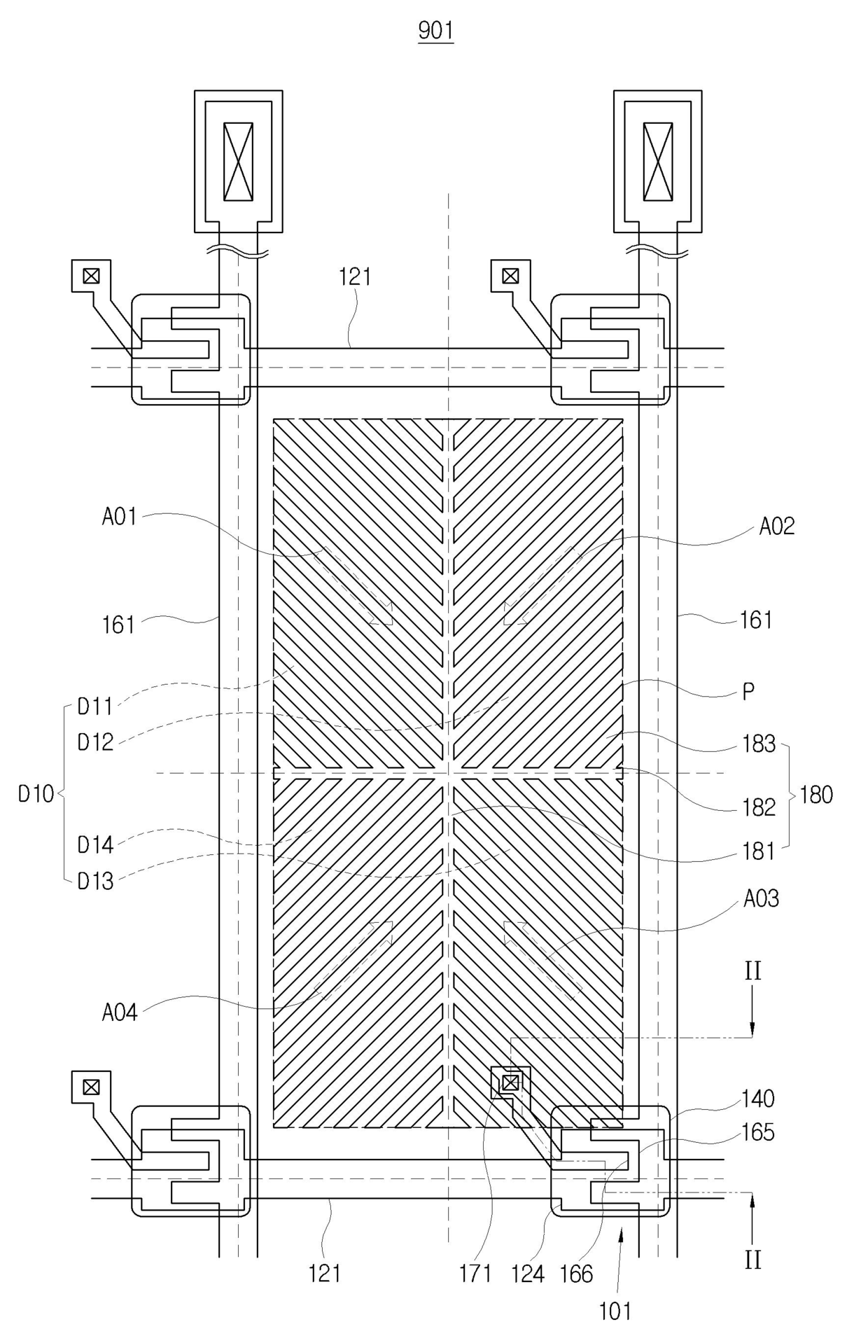
표시 장치 및 그 제조 방법
授权日
1900-01-01
公开(公告)号
KR1020080114353A
申请日
2007-06-27
公开(公告)日
2008-12-31
当前申请(专利权)人
삼성디스플레이 주식회사
发明人
이준우 | 우화성 | 전백균 | 손지원 | 이인숙 | 김경태
简单同族
KR101383717B1 | KR1020080114353A | US20090002588A1 | US8045112
简单同族成员数量
4
简单同族被引用专利总数
112
诉讼案件数
0
法律状态/事件
授权
抱歉,您的浏览器不支持PDF预览,请点击链接下载PDF文件