专利数据库
统计分析
产业报告
专利数据监控
产业人才
行业动态
产业政策法规
维权援助
个人中心
详情
文本
图像
标题
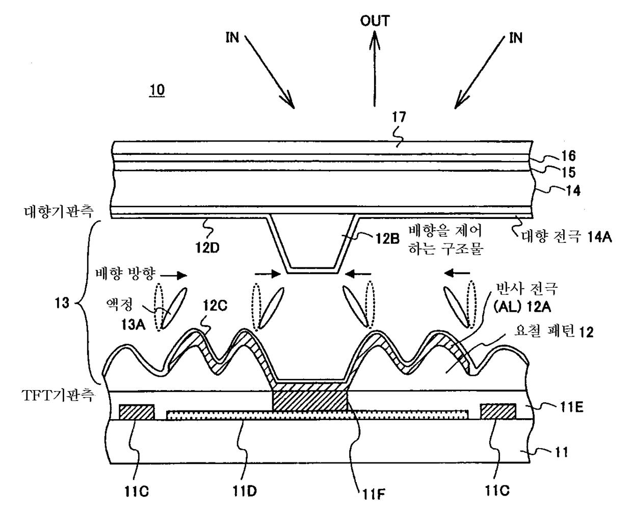
반사형 액정 표시 장치 및 그 제조 방법, 반사 투과형액정 표시 장치
授权日
1900-01-01
公开(公告)号
KR1020030047851A
申请日
2002-12-10
公开(公告)日
2003-06-18
当前申请(专利权)人
샤프 가부시키가이샤
发明人
다시로구니히로 | 스기우라노리오 | 오무로가쯔후미
简单同族
CN100492127C | CN101349851A | CN1306323C | CN1425942A | CN1982982A | JP2003177384A | JP2003177384A5 | JP3917417B2 | KR100822117B1 | KR100856266B1 | KR100881541B1 | KR1020030047851A | KR1020070115819A | KR1020080030999A | TW200301386A | TW589481B | US20030128315A1 | US20040141117A1 | US20040141125A1 | US20050225704A1 | US20050231665A1 | US6897924 | US6930736 | US7072014 | US7295270 | US7382429
简单同族成员数量
26
简单同族被引用专利总数
109
诉讼案件数
0
法律状态/事件
放弃
抱歉,您的浏览器不支持PDF预览,请点击链接下载PDF文件