专利数据库
统计分析
产业报告
专利数据监控
产业人才
行业动态
产业政策法规
维权援助
个人中心
详情
文本
图像
标题
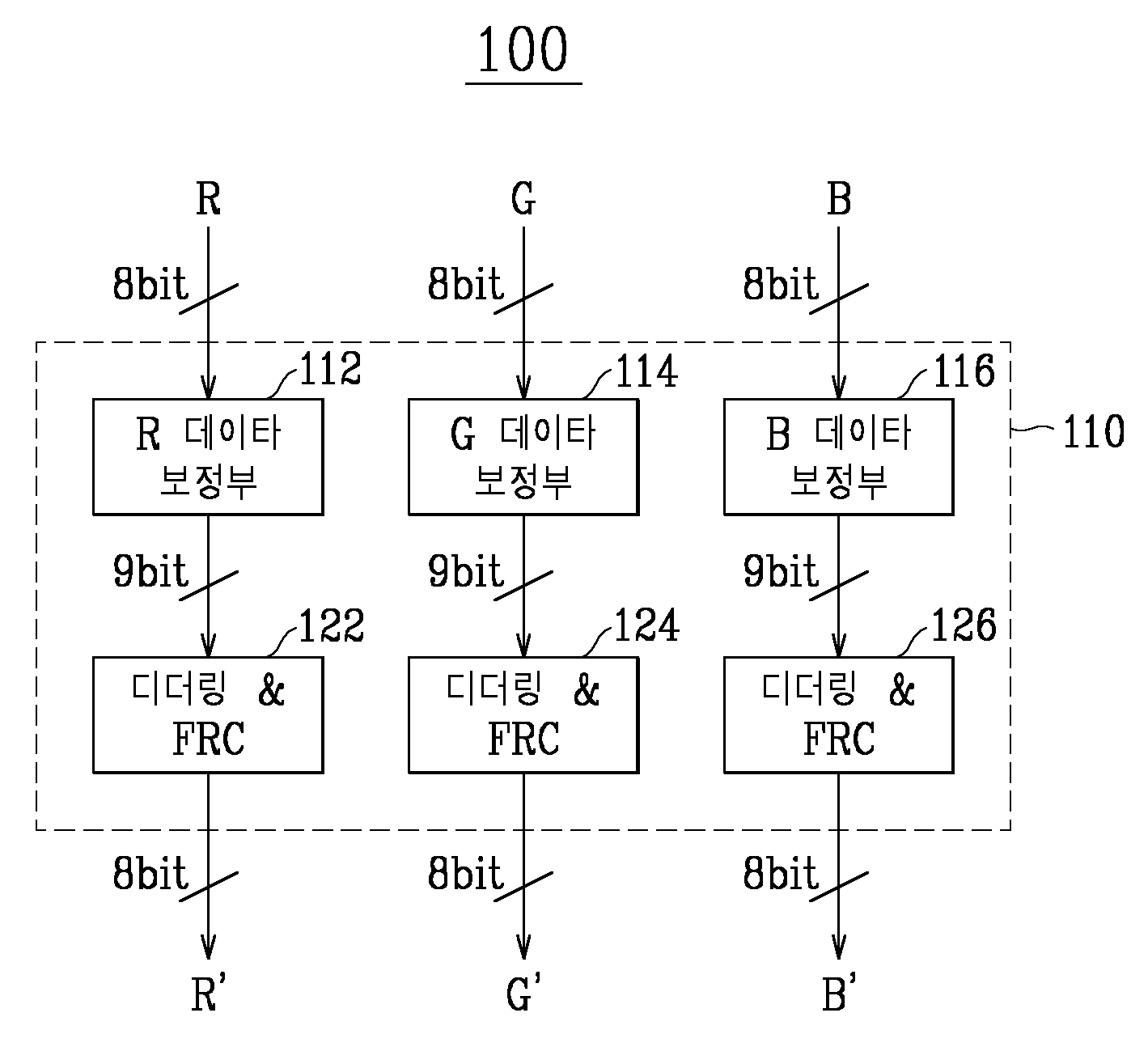
색 보정 기능을 갖는 액정 표시 장치 및 이의 구동 장치및 그 방법
授权日
1900-01-01
公开(公告)号
KR1020030005748A
申请日
2001-07-10
公开(公告)日
2003-01-23
当前申请(专利权)人
삼성전자주식회사
发明人
이승우 | 김종선 | 권수현
简单同族
CN1290074C | CN1395229A | JP2003029724A | JP2009064031A | JP2009230157A | JP4923021B2 | JP4929315B2 | KR100750929B1 | KR1020030005748A | TWI288856B | US20030016199A1 | US20060007089A1 | US20100309234A1 | US7030846 | US7746304 | US8823618 | WO2003007287A1
简单同族成员数量
17
简单同族被引用专利总数
155
诉讼案件数
0
法律状态/事件
未缴年费 | 权利转移
抱歉,您的浏览器不支持PDF预览,请点击链接下载PDF文件