专利数据库
统计分析
产业报告
专利数据监控
产业人才
行业动态
产业政策法规
维权援助
个人中心
详情
文本
图像
标题
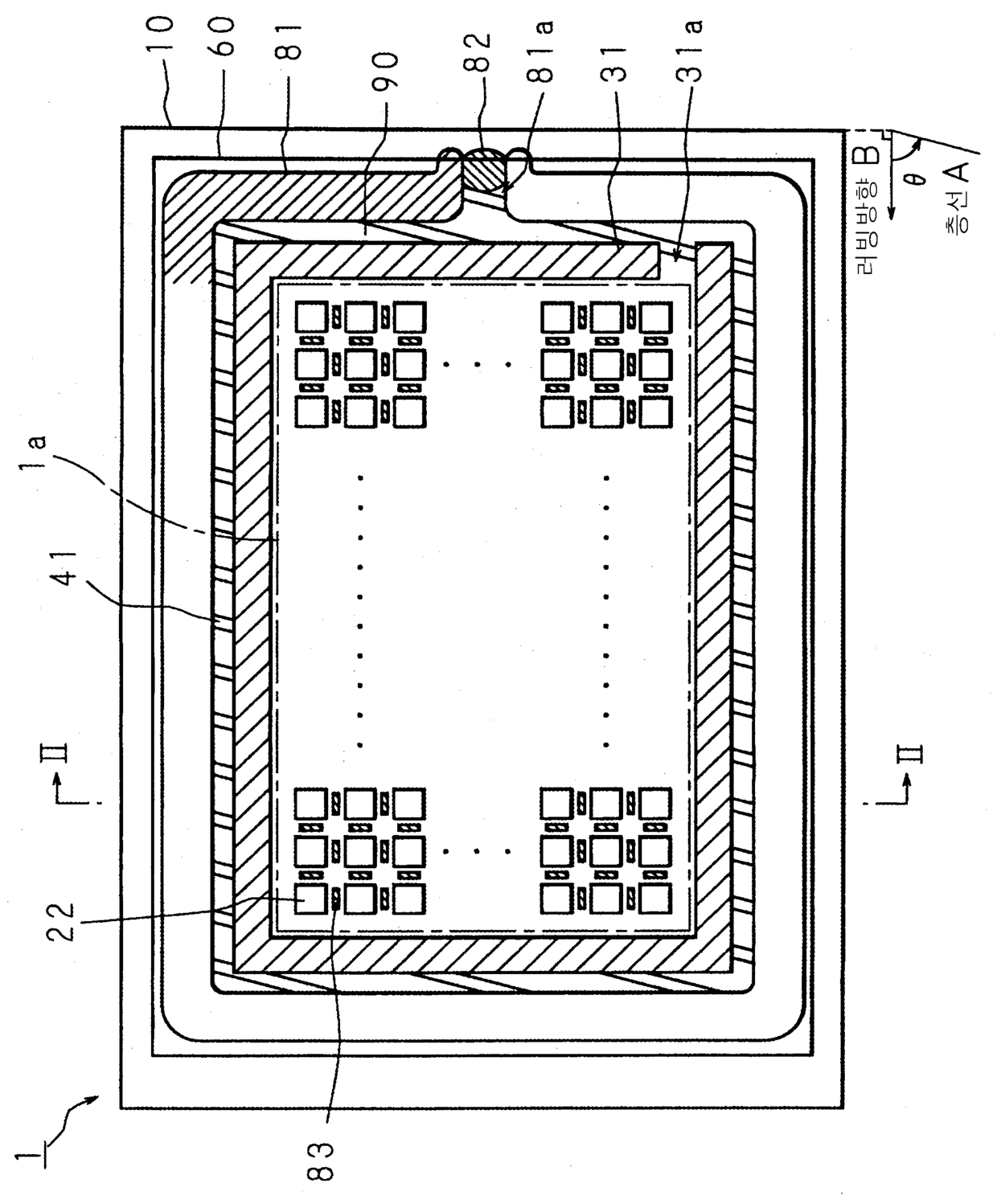
액정 표시 장치 및 액정 표시 장치의 제조방법
授权日
2006-12-20
公开(公告)号
KR100662067B1
申请日
2004-08-30
公开(公告)日
2006-12-27
当前申请(专利权)人
후지쯔 가부시끼가이샤
发明人
다다키신지 | 기요타요시노리 | 요시하라도시아키 | 시로토히로노리 | 마키노데츠야 | 가사하라시게오 | 베츠이게이이치
简单同族
CN100573276C | CN1677196A | JP2005292347A | JP2005292347A5 | JP4480443B2 | KR100662067B1 | KR1020050096806A | TW200532320A | TWI300505B | US20050219456A1 | US7362404
简单同族成员数量
11
简单同族被引用专利总数
64
诉讼案件数
0
法律状态/事件
未缴年费
抱歉,您的浏览器不支持PDF预览,请点击链接下载PDF文件