专利数据库
统计分析
产业报告
专利数据监控
产业人才
行业动态
产业政策法规
维权援助
个人中心
详情
文本
图像
标题
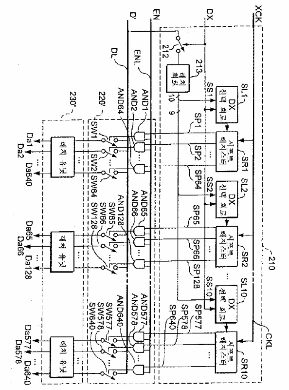
전기 광학 패널의 데이터선 구동 회로, 그 제어 방법,전기 광학 장치 및 전자기기
授权日
1900-01-01
公开(公告)号
KR1020020004810A
申请日
2001-04-26
公开(公告)日
2002-01-16
当前申请(专利权)人
세이코 엡슨 가부시키가이샤
发明人
OZAWA,TOKURO
简单同族
CN1172284C | CN1320900A | JP2001306014A | JP3835113B2 | KR100427518B1 | KR1020020004810A | TWI230916B | US20020000969A1 | US6683596
简单同族成员数量
9
简单同族被引用专利总数
140
诉讼案件数
0
法律状态/事件
授权 | 权利转移
抱歉,您的浏览器不支持PDF预览,请点击链接下载PDF文件