专利数据库
统计分析
产业报告
专利数据监控
产业人才
行业动态
产业政策法规
维权援助
个人中心
详情
文本
图像
标题
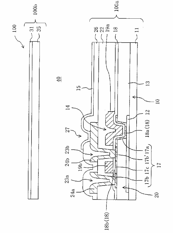
액정 표시장치 및 그 제조방법
授权日
1900-01-01
公开(公告)号
KR1020010015071A
申请日
2000-06-27
公开(公告)日
2001-02-26
当前申请(专利权)人
샤프 가부시키가이샤
发明人
우에다토루
简单同族
JP2001013518A | JP3464944B2 | KR100487392B1 | KR1020010015071A | US6493046
简单同族成员数量
5
简单同族被引用专利总数
92
诉讼案件数
0
法律状态/事件
放弃
抱歉,您的浏览器不支持PDF预览,请点击链接下载PDF文件