专利数据库
统计分析
产业报告
专利数据监控
产业人才
行业动态
产业政策法规
维权援助
个人中心
详情
文本
图像
标题
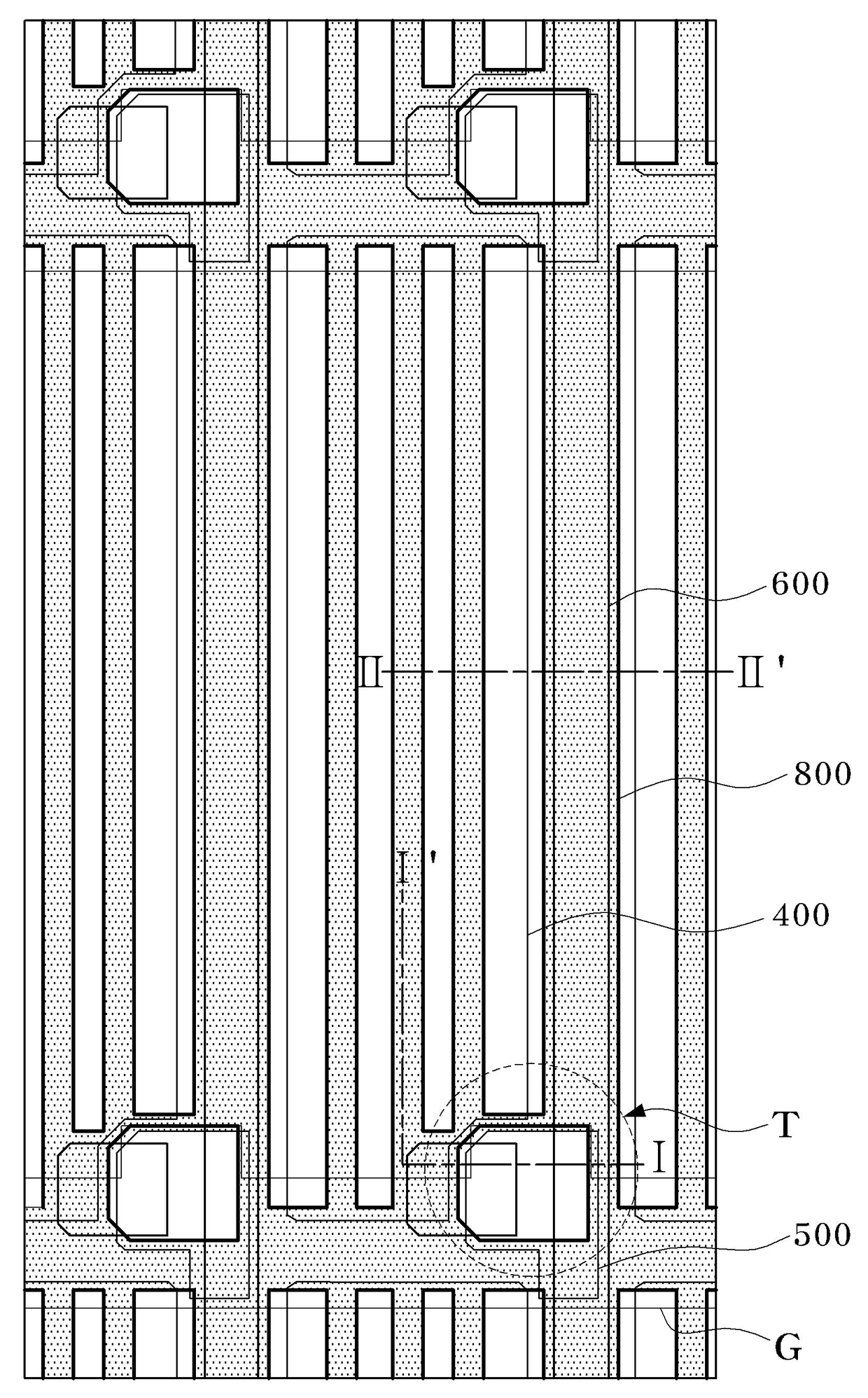
에프에프에스 모드 액정표시장치
授权日
2008-07-24
公开(公告)号
KR100849599B1
申请日
2007-02-05
公开(公告)日
2008-07-31
当前申请(专利权)人
하이디스 테크놀로지 주식회사
发明人
임동훈 | 송제훈 | 정연학
简单同族
CN101241278A | CN101241278B | KR100849599B1
简单同族成员数量
3
简单同族被引用专利总数
54
诉讼案件数
0
法律状态/事件
授权
抱歉,您的浏览器不支持PDF预览,请点击链接下载PDF文件