专利数据库
统计分析
产业报告
专利数据监控
产业人才
行业动态
产业政策法规
维权援助
个人中心
详情
文本
图像
标题
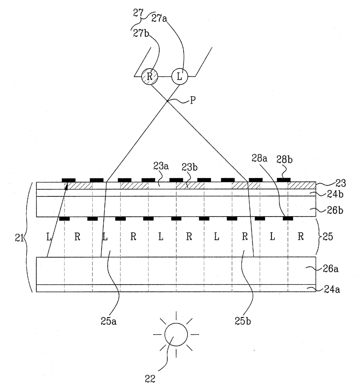
3차원 입체 액정표시장치
授权日
1900-01-01
公开(公告)号
KR1020050034850A
申请日
2003-10-10
公开(公告)日
2005-04-15
当前申请(专利权)人
엘지디스플레이 주식회사
发明人
HA,KYOUNGSU
简单同族
KR100977221B1 | KR1020050034850A
简单同族成员数量
2
简单同族被引用专利总数
50
诉讼案件数
0
法律状态/事件
授权
抱歉,您的浏览器不支持PDF预览,请点击链接下载PDF文件