专利数据库
统计分析
产业报告
专利数据监控
产业人才
行业动态
产业政策法规
维权援助
个人中心
详情
文本
图像
标题
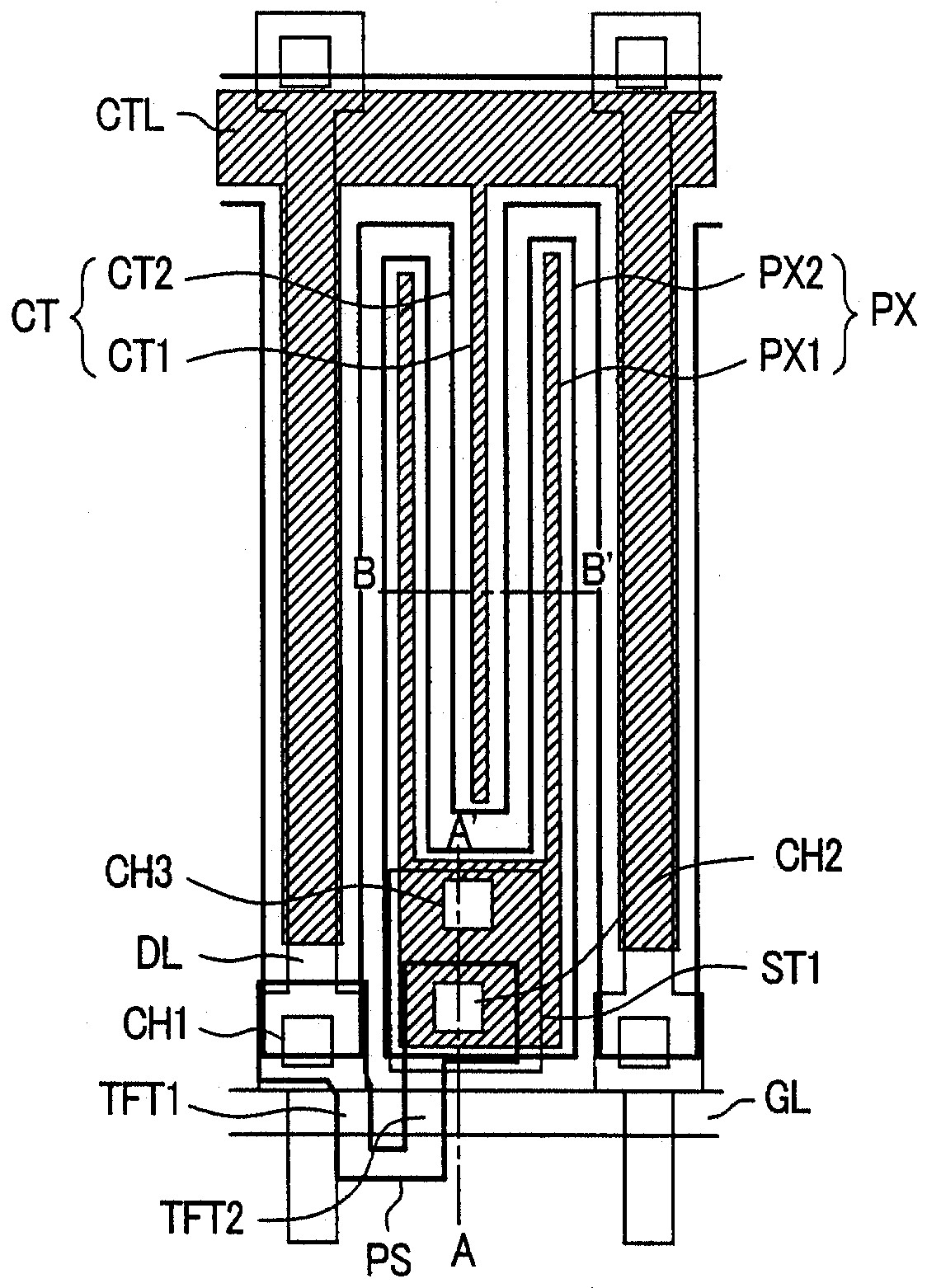
액정표시장치
授权日
2008-05-28
公开(公告)号
KR100835037B1
申请日
2007-04-23
公开(公告)日
2008-06-03
当前申请(专利权)人
가부시키가이샤 재팬 디스프레이
发明人
하세가와아츠시 | 미야자와토시오
简单同族
CN100439984C | CN101299108A | CN101320163A | CN101320163B | CN1766702A | JP2006126602A | JP4550551B2 | KR100778165B1 | KR100835037B1 | KR1020060049361A | KR1020070052251A | TW200632421A | TWI317439B | US20060092363A1 | US20090225261A1 | US20100245739A1 | US7538845 | US7768614
简单同族成员数量
18
简单同族被引用专利总数
112
诉讼案件数
0
法律状态/事件
未缴年费 | 权利转移
抱歉,您的浏览器不支持PDF预览,请点击链接下载PDF文件