专利数据库
统计分析
产业报告
专利数据监控
产业人才
行业动态
产业政策法规
维权援助
个人中心
详情
文本
图像
标题
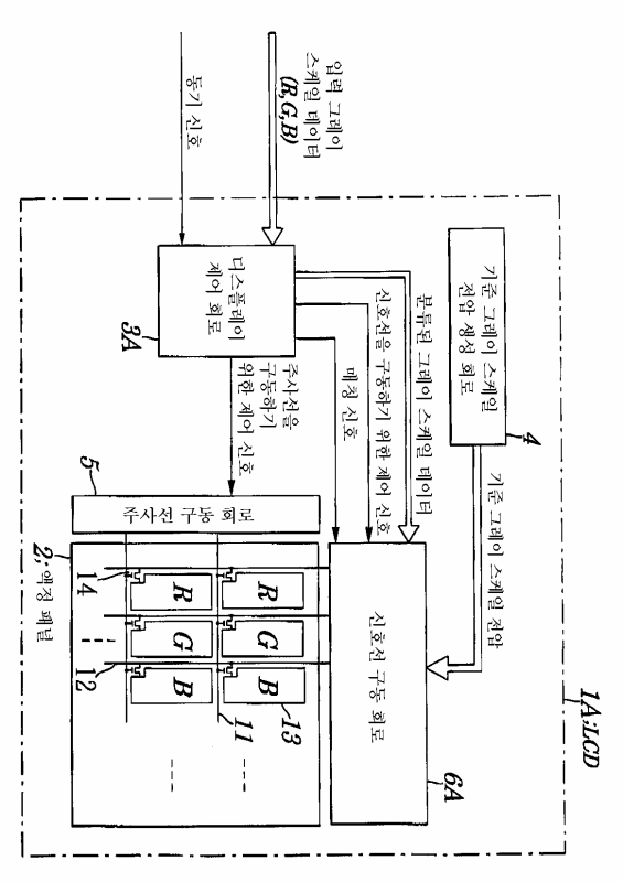
이미지 디스플레이 장치 및 이를 구동하는 방법
授权日
2004-10-12
公开(公告)号
KR100453866B1
申请日
2002-08-03
公开(公告)日
2004-10-26
当前申请(专利权)人
르네사스 일렉트로닉스 가부시키가이샤
发明人
다지마아끼미쯔 | 노세다까시
简单同族
DE10235451A1 | JP2003044017A | KR100453866B1 | KR1020030013344A | SG109982A1 | TW588304B | US20030030614A1 | US7239297
简单同族成员数量
8
简单同族被引用专利总数
69
诉讼案件数
0
法律状态/事件
放弃
抱歉,您的浏览器不支持PDF预览,请点击链接下载PDF文件