专利数据库
统计分析
产业报告
专利数据监控
产业人才
行业动态
产业政策法规
维权援助
个人中心
详情
文本
图像
标题
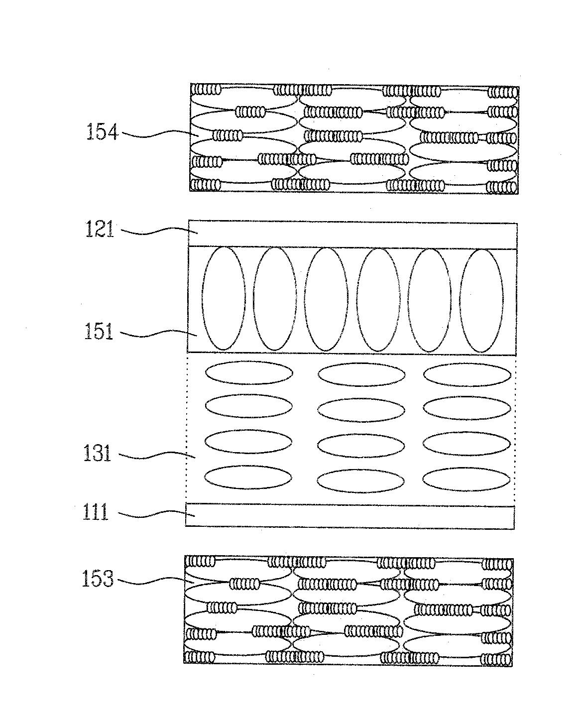
IPS 모드 액정표시소자
授权日
2011-04-14
公开(公告)号
KR101030538B1
申请日
2004-06-17
公开(公告)日
2011-04-22
当前申请(专利权)人
엘지디스플레이 주식회사
发明人
이만환 | 이하영
简单同族
KR101030538B1 | KR1020050119810A | US20050280762A1 | US7675594
简单同族成员数量
4
简单同族被引用专利总数
60
诉讼案件数
0
法律状态/事件
未缴年费
抱歉,您的浏览器不支持PDF预览,请点击链接下载PDF文件