专利数据库
统计分析
产业报告
专利数据监控
产业人才
行业动态
产业政策法规
维权援助
个人中心
详情
文本
图像
标题
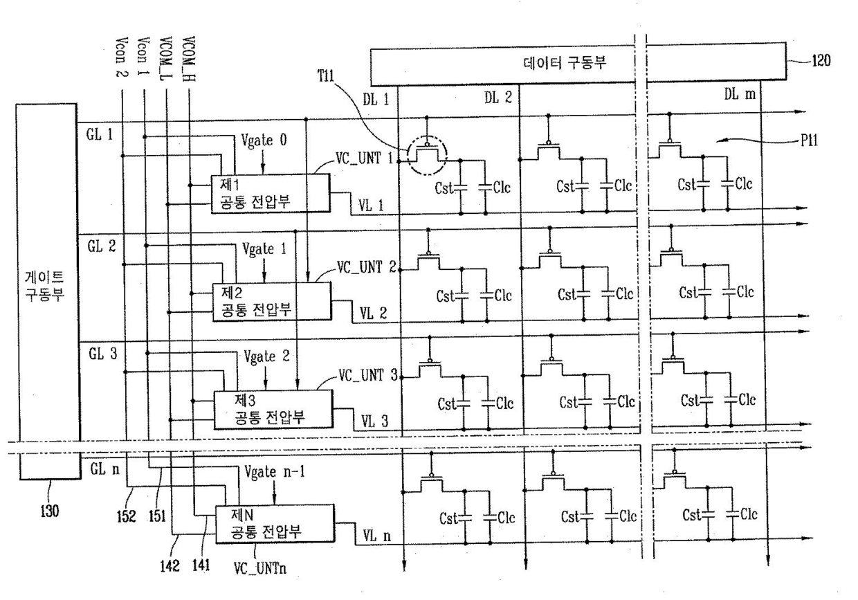
액정표시장치
授权日
1900-01-01
公开(公告)号
KR1020060063422A
申请日
2004-12-07
公开(公告)日
2006-06-12
当前申请(专利权)人
엘지디스플레이 주식회사
发明人
황한욱 | 김상호
简单同族
KR101108343B1 | KR1020060063422A | US20060208985A1 | US8248336
简单同族成员数量
4
简单同族被引用专利总数
52
诉讼案件数
0
法律状态/事件
授权
抱歉,您的浏览器不支持PDF预览,请点击链接下载PDF文件