专利数据库
统计分析
产业报告
专利数据监控
产业人才
行业动态
产业政策法规
维权援助
个人中心
详情
文本
图像
标题
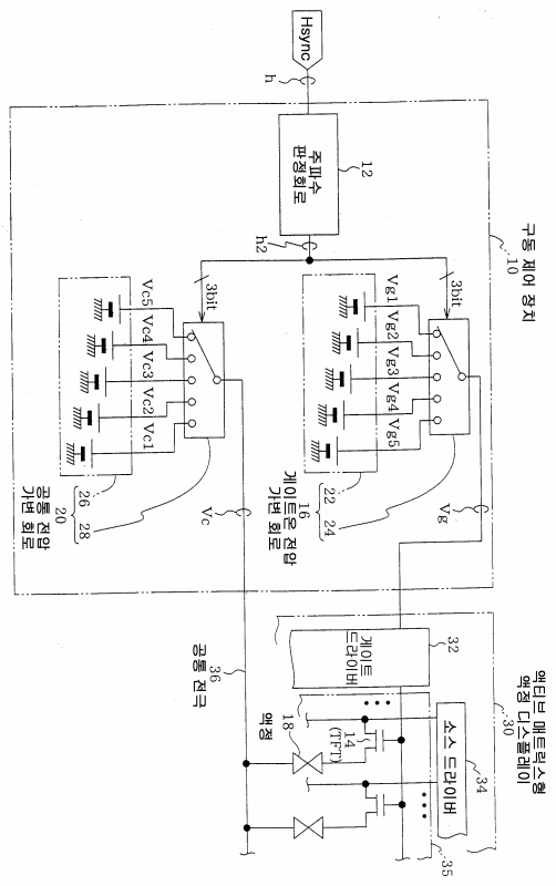
액티브 매트릭스형 액정디스플레이 구동제어장치
授权日
1900-01-01
公开(公告)号
KR1020010015111A
申请日
2000-06-30
公开(公告)日
2001-02-26
当前申请(专利权)人
닛뽕덴끼 가부시끼가이샤
发明人
TAKEDA,HIROSHI
简单同族
JP2001013930A | KR100374375B1 | KR1020010015111A | TW521244B | US6456268
简单同族成员数量
5
简单同族被引用专利总数
75
诉讼案件数
0
法律状态/事件
期限届满 | 权利转移
抱歉,您的浏览器不支持PDF预览,请点击链接下载PDF文件