专利数据库
统计分析
产业报告
专利数据监控
产业人才
行业动态
产业政策法规
维权援助
个人中心
详情
文本
图像
标题
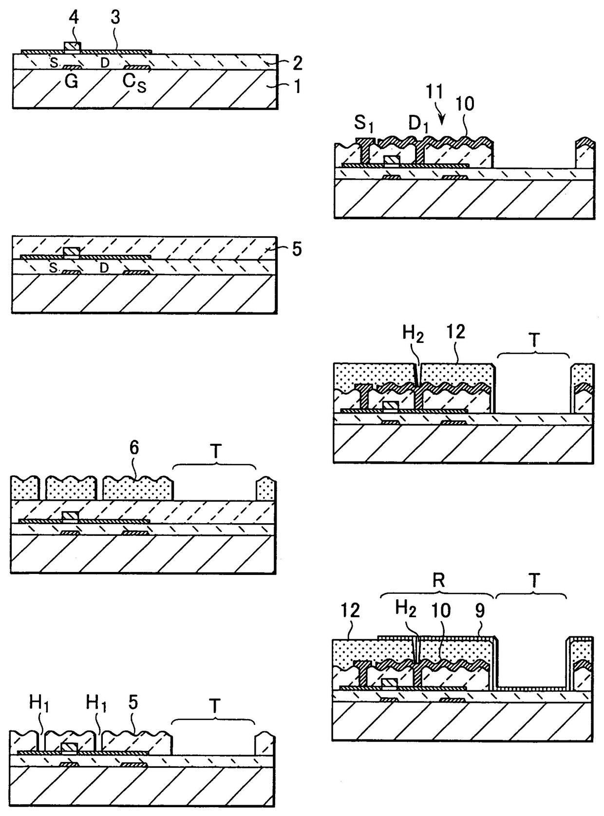
반투과형 액정 표시 장치 및 그 제조 방법
授权日
1900-01-01
公开(公告)号
KR1020020021332A
申请日
2001-09-13
公开(公告)日
2002-03-20
当前申请(专利权)人
소니 주식회사
发明人
FUJINO,MASAHIRO
简单同族
JP2002162645A | KR100845414B1 | KR1020020021332A | TWI257507B | US20020176029A1 | US20030169382A1 | US6809785 | US6975375
简单同族成员数量
8
简单同族被引用专利总数
106
诉讼案件数
0
法律状态/事件
未缴年费
抱歉,您的浏览器不支持PDF预览,请点击链接下载PDF文件