专利数据库
统计分析
产业报告
专利数据监控
产业人才
行业动态
产业政策法规
维权援助
个人中心
详情
文本
图像
标题
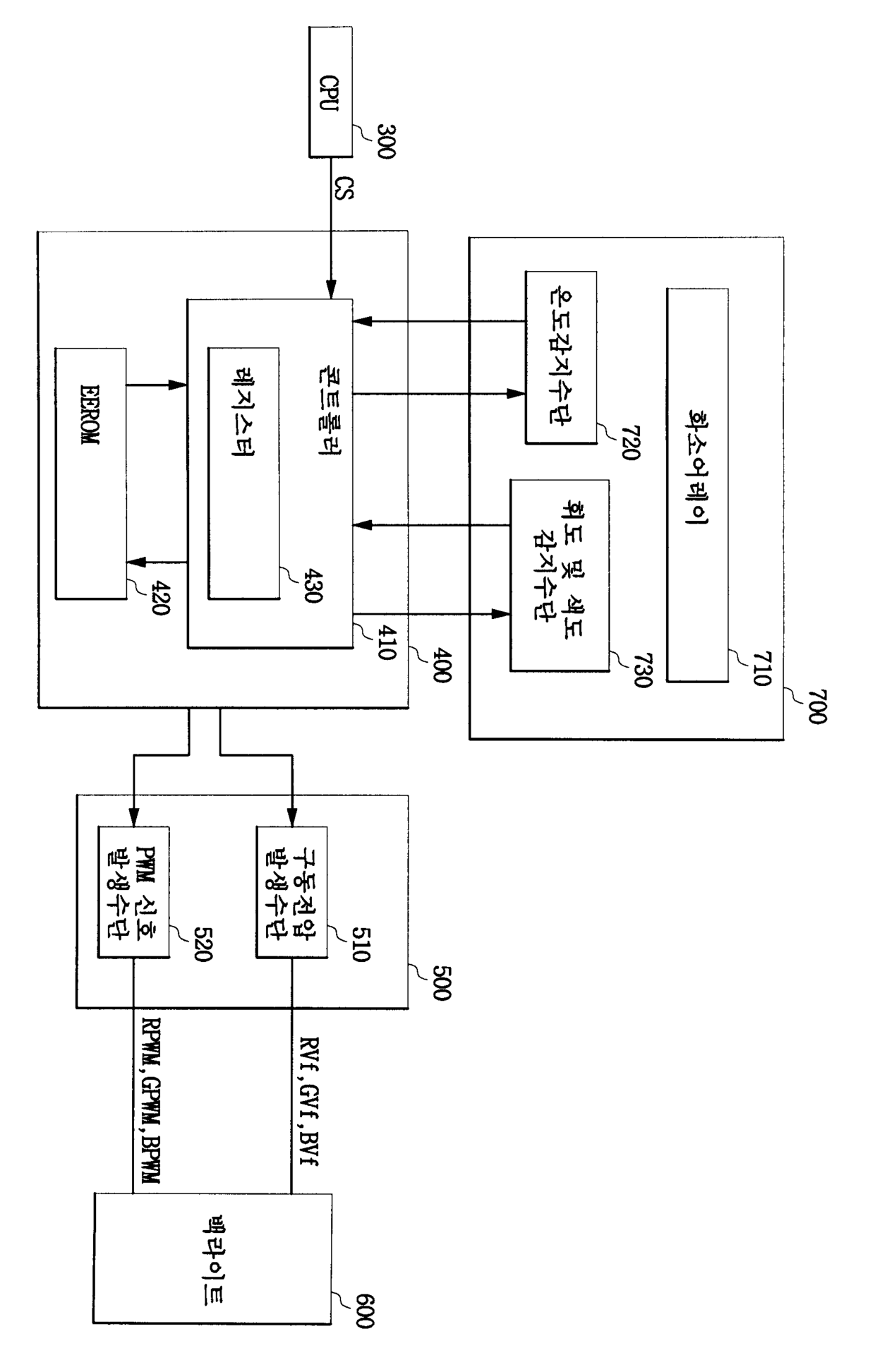
액정표시장치 및 이의 구동 방법
授权日
2007-07-16
公开(公告)号
KR100741963B1
申请日
2003-11-27
公开(公告)日
2007-07-23
当前申请(专利权)人
삼성에스디아이 주식회사
发明人
KIM,TAESOO
简单同族
CN100360999C | CN1621903A | JP2005157387A | JP3884040B2 | KR100741963B1 | KR1020050051501A | US20050116921A1 | US7728808
简单同族成员数量
8
简单同族被引用专利总数
90
诉讼案件数
0
法律状态/事件
放弃 | 权利转移
抱歉,您的浏览器不支持PDF预览,请点击链接下载PDF文件