专利数据库
统计分析
产业报告
专利数据监控
产业人才
行业动态
产业政策法规
维权援助
个人中心
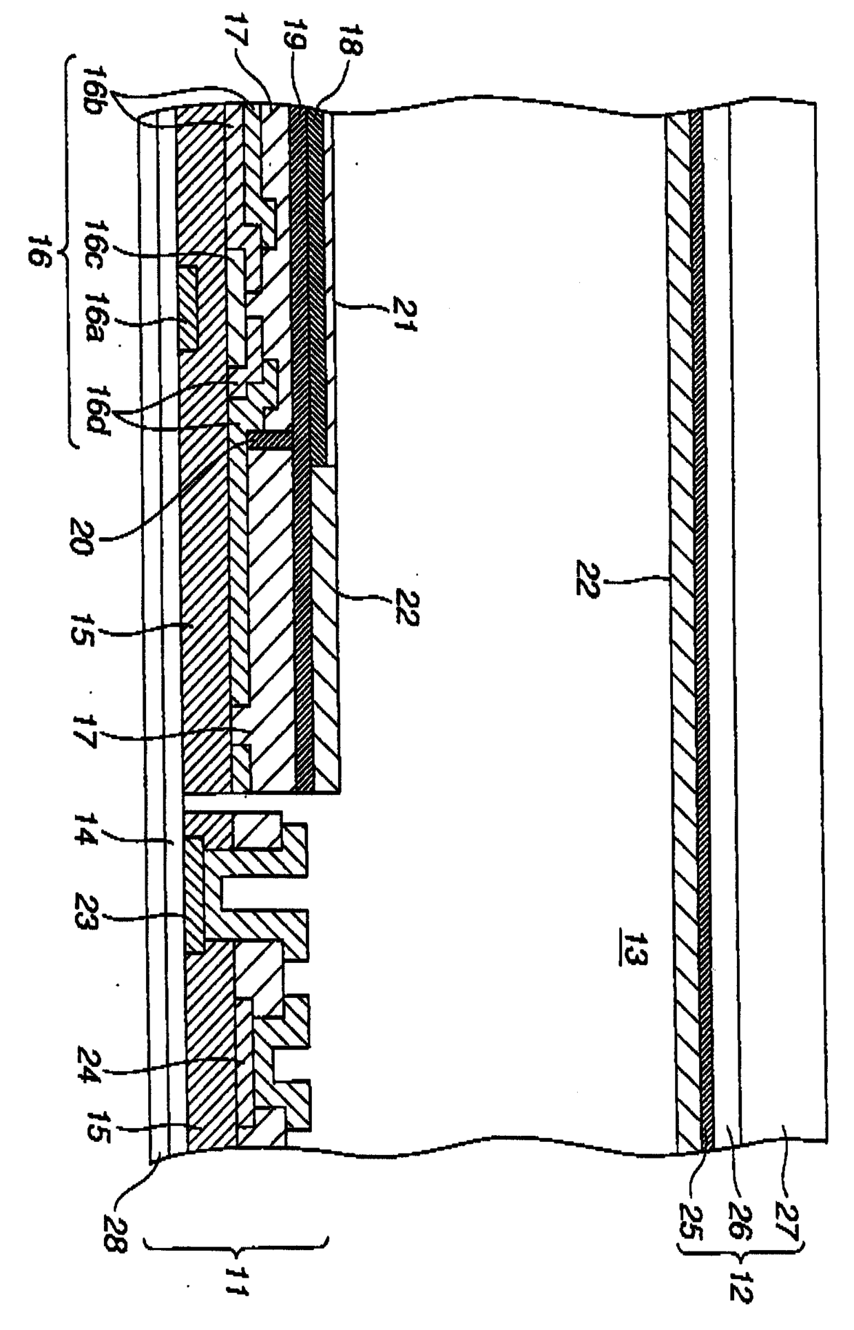
详情
文本
图像
标题
투과반사액정표시장치
授权日
2007-01-10
公开(公告)号
KR100670168B1
申请日
2002-08-22
公开(公告)日
2007-01-17
当前申请(专利权)人
엔엘티 테크놀로지 가부시키가이샤
发明人
이케노히데노리 | 스즈키마사요시
简单同族
EP1286204A2 | EP1286204A3 | JP2003066473A | JP4831721B2 | KR100670168B1 | KR1020030017406A | NO20023990A | NO20023990D0 | NO20023990L | NO337071B1 | TW574514B | US20030038909A1 | US6862058
简单同族成员数量
13
简单同族被引用专利总数
77
诉讼案件数
0
法律状态/事件
未缴年费 | 异议
抱歉,您的浏览器不支持PDF预览,请点击链接下载PDF文件