专利数据库
统计分析
产业报告
专利数据监控
产业人才
行业动态
产业政策法规
维权援助
个人中心
详情
文本
图像
标题
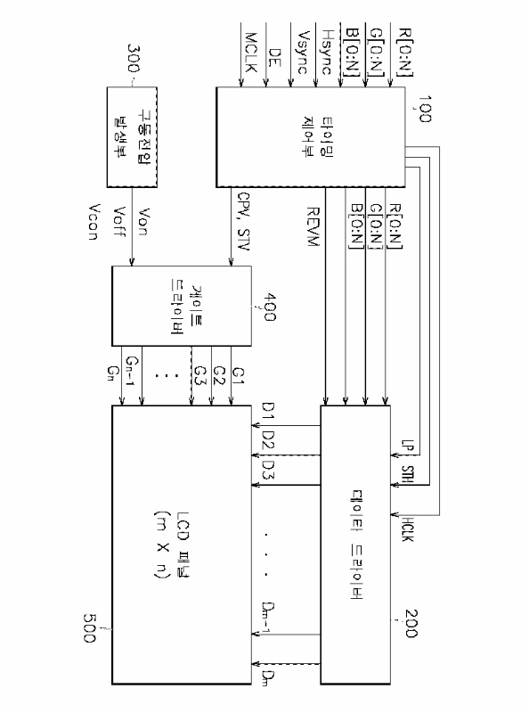
멀티 프레임 반전 기능을 갖는 액정 표시 장치와 이의구동 장치 및 방법
授权日
1900-01-01
公开(公告)号
KR1020020039898A
申请日
2000-11-22
公开(公告)日
2002-05-30
当前申请(专利权)人
삼성전자주식회사
发明人
윤원봉
简单同族
JP2002196731A | KR100350651B1 | KR1020020039898A | TW494380B | US20020089485A1 | US7030843
简单同族成员数量
6
简单同族被引用专利总数
143
诉讼案件数
0
法律状态/事件
未缴年费 | 权利转移
抱歉,您的浏览器不支持PDF预览,请点击链接下载PDF文件