专利数据库
统计分析
产业报告
专利数据监控
产业人才
行业动态
产业政策法规
维权援助
个人中心
详情
文本
图像
标题
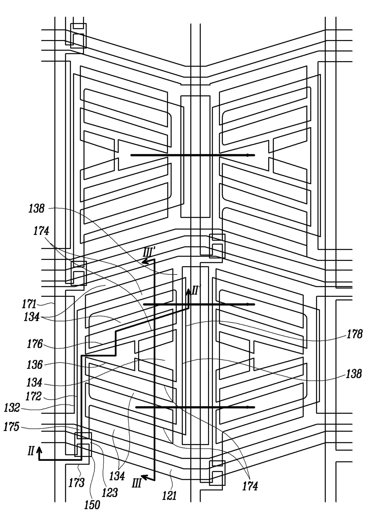
액정 표시 장치용 박막 트랜지스터 표시판
授权日
1900-01-01
公开(公告)号
KR1020040048518A
申请日
2002-12-03
公开(公告)日
2004-06-10
当前申请(专利权)人
삼성전자주식회사
发明人
이창훈 | 한은희 | 창학선
简单同族
CN100470339C | CN1523435A | JP2004185011A | JP2011203763A | JP5552463B2 | KR100920344B1 | KR1020040048518A | TW200422743A | TWI342977B | US20040109099A1 | US20080088786A1 | US20100039599A1 | US20110216279A1 | US7317503 | US7609351 | US7944537 | US8467025
简单同族成员数量
17
简单同族被引用专利总数
72
诉讼案件数
0
法律状态/事件
授权 | 权利转移
抱歉,您的浏览器不支持PDF预览,请点击链接下载PDF文件