专利数据库
统计分析
产业报告
专利数据监控
产业人才
行业动态
产业政策法规
维权援助
个人中心
详情
文本
图像
标题
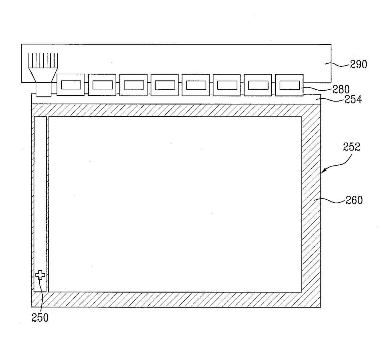
액정표시소자
授权日
1900-01-01
公开(公告)号
KR1020060125138A
申请日
2005-06-02
公开(公告)日
2006-12-06
当前申请(专利权)人
엘지디스플레이 주식회사
发明人
전민두 | 박광순 | 윤수영
简单同族
CN100442114C | CN1873484A | JP2006338025A | JP4546420B2 | KR101127855B1 | KR1020060125138A | US20060279687A1 | US7808608
简单同族成员数量
8
简单同族被引用专利总数
68
诉讼案件数
0
法律状态/事件
授权
抱歉,您的浏览器不支持PDF预览,请点击链接下载PDF文件