专利数据库
统计分析
产业报告
专利数据监控
产业人才
行业动态
产业政策法规
维权援助
个人中心
详情
文本
图像
标题
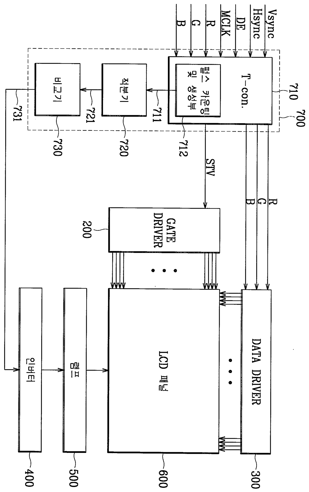
액정 표시 장치와 이의 구동 방법
授权日
1900-01-01
公开(公告)号
KR1020030017187A
申请日
2001-08-24
公开(公告)日
2003-03-03
当前申请(专利权)人
삼성전자주식회사
发明人
이상철 | 곽진오 | 신중혁 | 박종현
简单同族
JP2003075804A | JP2007122081A | JP4034069B2 | KR100767370B1 | KR1020030017187A | TW535138B | US20030038770A1
简单同族成员数量
7
简单同族被引用专利总数
87
诉讼案件数
0
法律状态/事件
授权 | 权利转移
抱歉,您的浏览器不支持PDF预览,请点击链接下载PDF文件