专利数据库
统计分析
产业报告
专利数据监控
产业人才
行业动态
产业政策法规
维权援助
个人中心
详情
文本
图像
标题
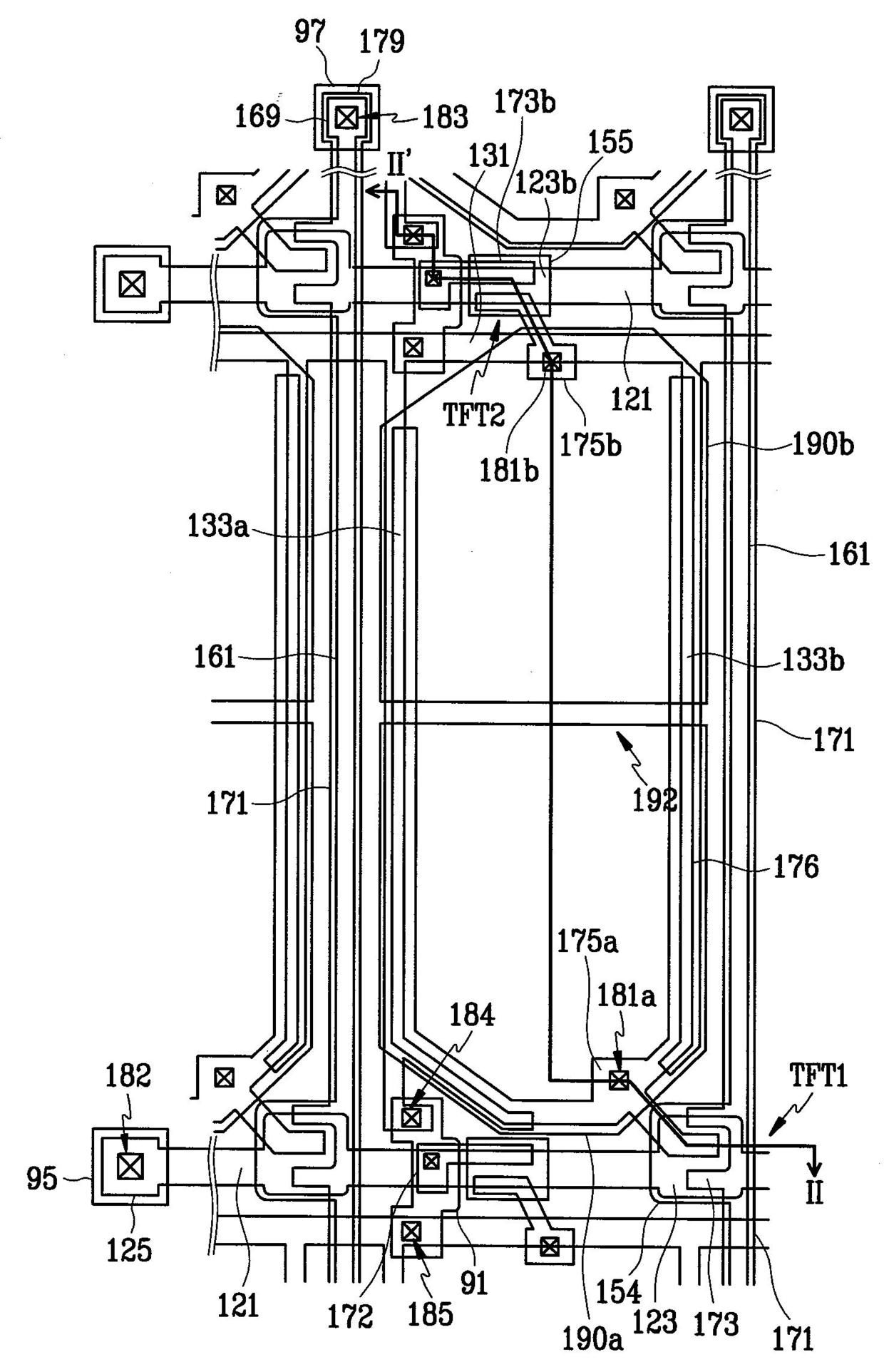
액정 표시 장치 및 그에 사용되는 표시판
授权日
2010-05-31
公开(公告)号
KR100961945B1
申请日
2003-03-26
公开(公告)日
2010-06-08
当前申请(专利权)人
삼성전자주식회사
发明人
김희섭 | 김종래 | 양영철 | 홍성규
简单同族
CN101893793A | CN101893793B | CN1764865A | CN1764865B | KR100961945B1 | KR1020040084019A | TW200510836A | TWI276868B | US20070177067A1 | US20120074416A1 | US20150138482A1 | US8054398 | US8953113 | US9921447 | WO2004086129A1
简单同族成员数量
15
简单同族被引用专利总数
90
诉讼案件数
0
法律状态/事件
授权 | 权利转移
抱歉,您的浏览器不支持PDF预览,请点击链接下载PDF文件