专利数据库
统计分析
产业报告
专利数据监控
产业人才
行业动态
产业政策法规
维权援助
个人中心
详情
文本
图像
标题
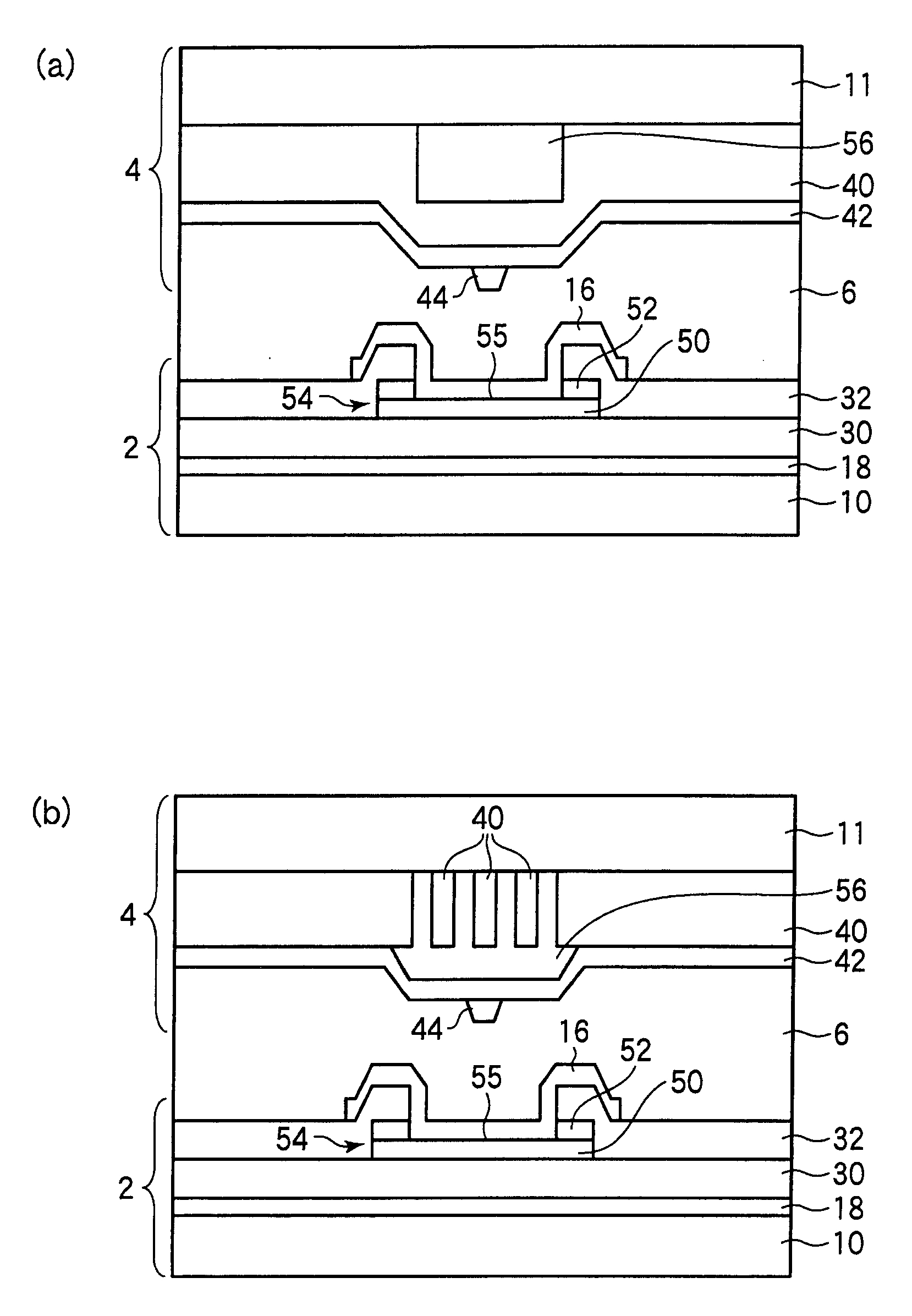
액정 표시 장치 및 그 제조 방법
授权日
1900-01-01
公开(公告)号
KR1020050056121A
申请日
2004-10-12
公开(公告)日
2005-06-14
当前申请(专利权)人
후지쯔 가부시끼가이샤 | 우 옵트로닉스 코포레이션
发明人
요시다히데후미 | 다사까야스또시 | 다시로구니히로 | 오무로,가쯔후미 | 가마다쯔요시 | 우에다가즈야 | 시바사끼마사까즈
简单同族
CN100395640C | CN100587564C | CN100592162C | CN101261382A | CN101261393A | CN101261394A | CN101261394B | CN101261395A | CN101261395B | CN101261396A | CN101261396B | CN101261415A | CN101261415B | CN1627164A | JP2005173037A | KR100680100B1 | KR100710770B1 | KR1020050056121A | KR1020060103411A | TW200519459A | TWI296345B | US20050122452A1 | US20070273813A1 | US20090153779A1 | US7250996 | US7486361 | US7751003
简单同族成员数量
27
简单同族被引用专利总数
158
诉讼案件数
0
法律状态/事件
授权 | 权利转移
抱歉,您的浏览器不支持PDF预览,请点击链接下载PDF文件