专利数据库
统计分析
产业报告
专利数据监控
产业人才
行业动态
产业政策法规
维权援助
个人中心
详情
文本
图像
标题
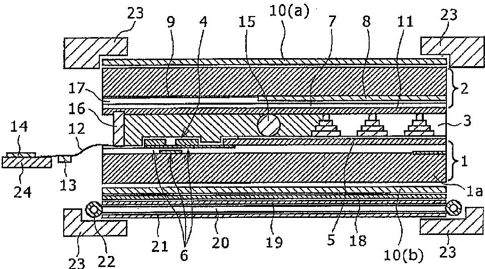
디스플레이 장치
授权日
2008-02-01
公开(公告)号
KR100802879B1
申请日
2006-06-05
公开(公告)日
2008-02-14
当前申请(专利权)人
가부시키가이샤 고베 세이코쇼
发明人
구기미야도시히로 | 도미히사가츠후미 | 히노아야 | 다카기가츠토시
简单同族
JP2007017926A | JP4542008B2 | KR100802879B1 | KR1020060127794A | SG128578A1 | TW200700866A | TWI336803B | US20060275618A1
简单同族成员数量
8
简单同族被引用专利总数
127
诉讼案件数
0
法律状态/事件
授权
抱歉,您的浏览器不支持PDF预览,请点击链接下载PDF文件