专利数据库
统计分析
产业报告
专利数据监控
产业人才
行业动态
产业政策法规
维权援助
个人中心
详情
文本
图像
标题
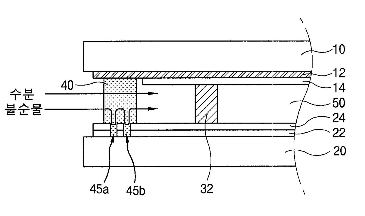
액정패널의 실링구조
授权日
2008-10-20
公开(公告)号
KR100865284B1
申请日
2001-10-31
公开(公告)日
2008-10-27
当前申请(专利权)人
엘지디스플레이 주식회사
发明人
PARK,KIBOK
简单同族
KR100865284B1 | KR1020030035498A | US20030090615A1 | US6882399
简单同族成员数量
4
简单同族被引用专利总数
86
诉讼案件数
0
法律状态/事件
授权
抱歉,您的浏览器不支持PDF预览,请点击链接下载PDF文件