专利数据库
统计分析
产业报告
专利数据监控
产业人才
行业动态
产业政策法规
维权援助
个人中心
详情
文本
图像
标题
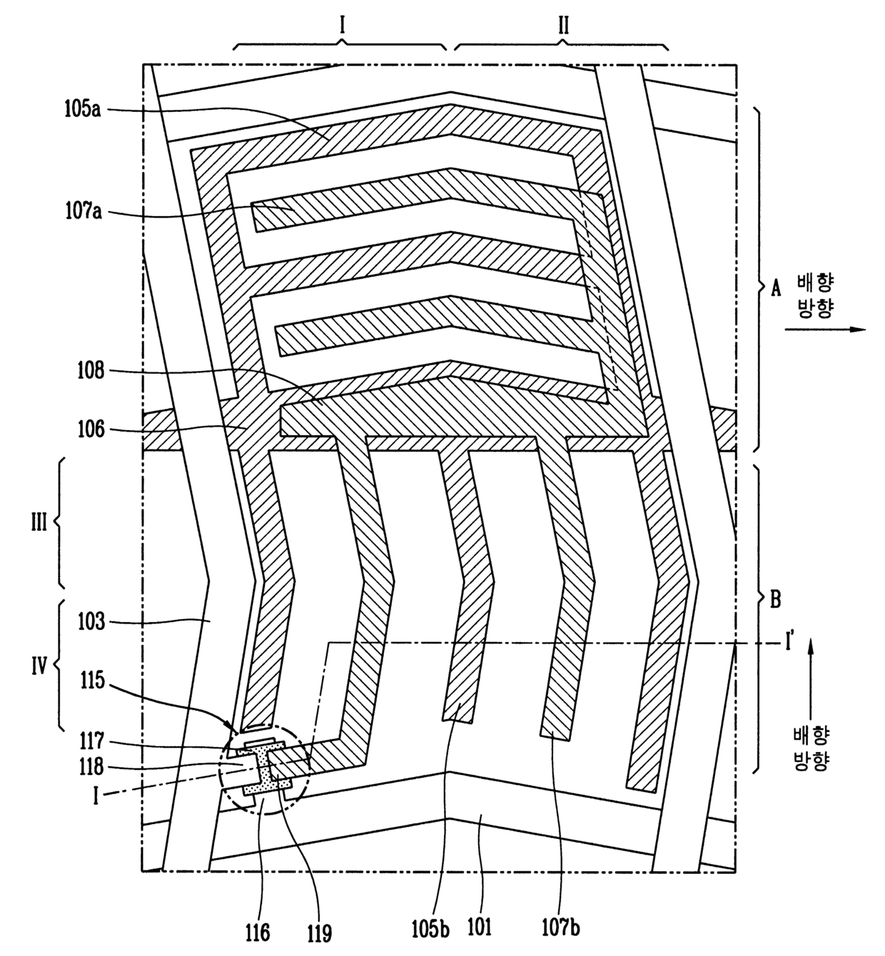
발명의 명칭 멀티도메인 횡전계모드 액정표시소자
授权日
2012-09-24
公开(公告)号
KR101186863B1
申请日
2003-12-29
公开(公告)日
2012-10-05
当前申请(专利权)人
엘지디스플레이 주식회사
发明人
KIM,WOOHYUN
简单同族
CN100368903C | CN1637472A | FR2864637A1 | FR2864637B1 | JP2005196118A | JP4414824B2 | KR101186863B1 | KR1020050068212A | TW200521536A | TWI259922B | US20050140897A1 | US7388639
简单同族成员数量
12
简单同族被引用专利总数
84
诉讼案件数
0
法律状态/事件
授权
抱歉,您的浏览器不支持PDF预览,请点击链接下载PDF文件