专利数据库
统计分析
产业报告
专利数据监控
产业人才
行业动态
产业政策法规
维权援助
个人中心
详情
文本
图像
标题
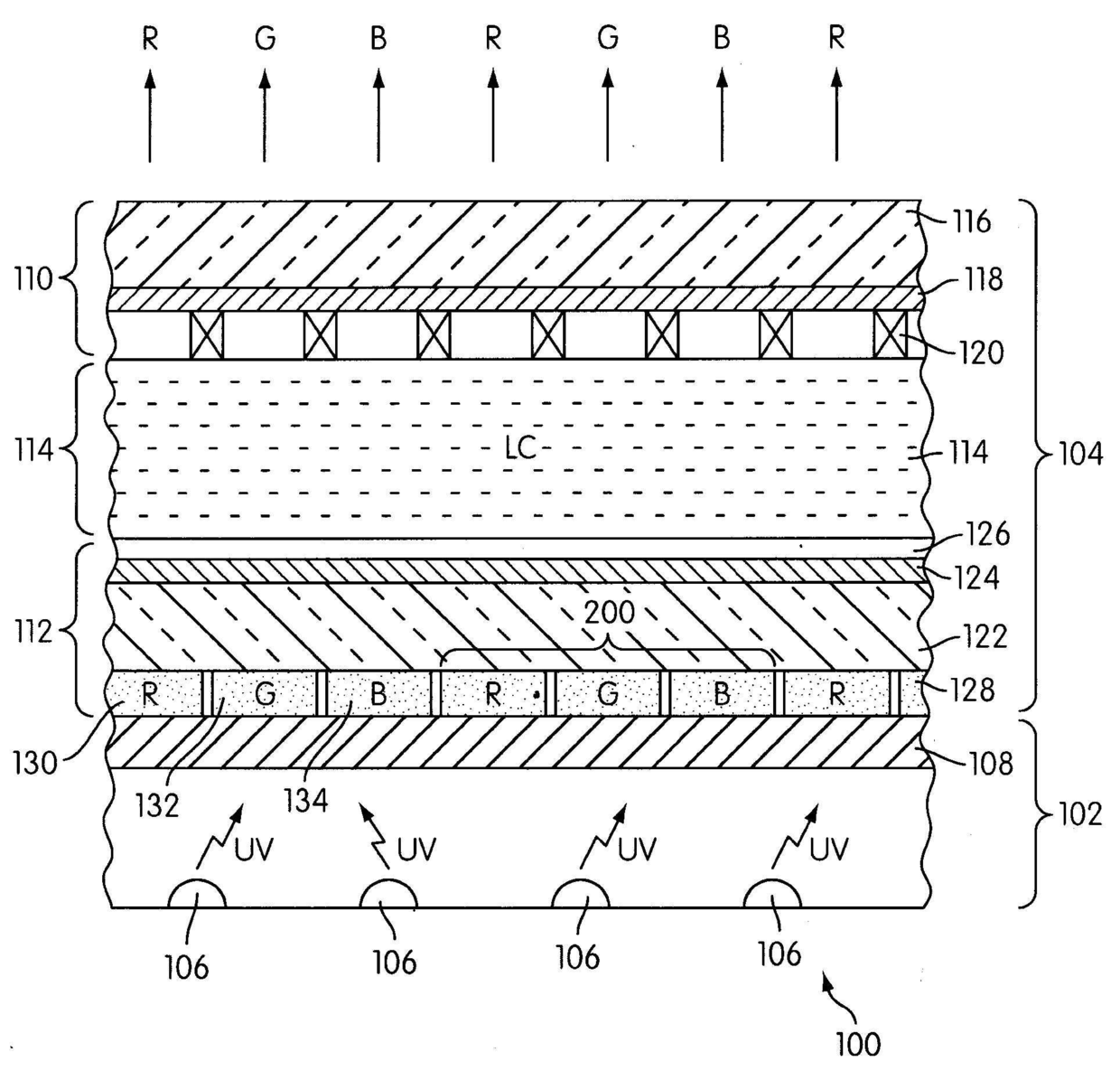
발명의 명칭 광발광 칼라 액정디스플레이
授权日
2012-09-11
公开(公告)号
KR101183571B1
申请日
2007-07-06
公开(公告)日
2012-09-19
当前申请(专利权)人
인터매틱스 코포레이션
发明人
리이춘 | 동이 | 산웨이
简单同族
AT544089T | CN101484841A | CN103383506A | EP2047324A2 | EP2047324A4 | EP2047324B1 | HK1133466A | JP2009543130A | KR101183571B1 | KR1020090033891A | TW200813549A | TWI377404B | US20080074583A1 | US20080158480A1 | WO2008005508A2 | WO2008005508A3
简单同族成员数量
16
简单同族被引用专利总数
154
诉讼案件数
0
法律状态/事件
授权
抱歉,您的浏览器不支持PDF预览,请点击链接下载PDF文件