专利数据库
统计分析
产业报告
专利数据监控
产业人才
行业动态
产业政策法规
维权援助
个人中心
详情
文本
图像
标题
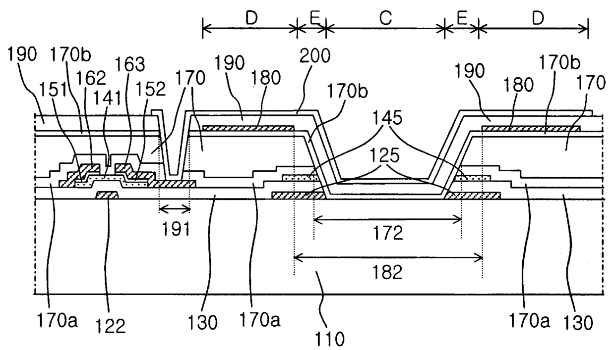
반투과 액정 표시 장치용 어레이기판 및 이의 제조방법
授权日
2008-04-02
公开(公告)号
KR100820647B1
申请日
2001-10-29
公开(公告)日
2008-04-08
当前申请(专利权)人
엘지디스플레이 주식회사
发明人
하경수 | 김웅권 | 김동국
简单同族
CN1280668C | CN1417622A | JP2003140190A | JP3815784B2 | KR100820647B1 | KR1020030034855A | TW583487B | US20030081159A1 | US6654076
简单同族成员数量
9
简单同族被引用专利总数
146
诉讼案件数
0
法律状态/事件
未缴年费
抱歉,您的浏览器不支持PDF预览,请点击链接下载PDF文件