专利数据库
统计分析
产业报告
专利数据监控
产业人才
行业动态
产业政策法规
维权援助
个人中心
详情
文本
图像
标题
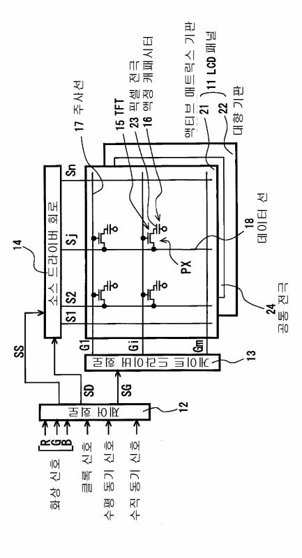
액정 표시 장치 및 그 구동 방법
授权日
1900-01-01
公开(公告)号
KR1020040010372A
申请日
2003-07-24
公开(公告)日
2004-01-31
当前申请(专利权)人
엔엘티 테크놀로지 가부시키가이샤
发明人
TAKEMOTO,TAKAHIRO
简单同族
CN100511392C | CN1261806C | CN1482507A | CN1770253A | JP2004061590A | JP3799307B2 | KR100602761B1 | KR1020040010372A | TW200402685A | TWI249724B | US20040017344A1
简单同族成员数量
11
简单同族被引用专利总数
91
诉讼案件数
0
法律状态/事件
未缴年费
抱歉,您的浏览器不支持PDF预览,请点击链接下载PDF文件