专利数据库
统计分析
产业报告
专利数据监控
产业人才
行业动态
产业政策法规
维权援助
个人中心
详情
文本
图像
标题
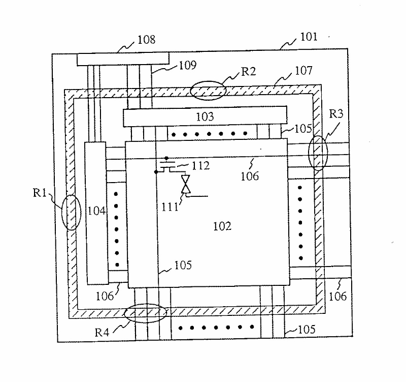
표시장치
授权日
2002-09-26
公开(公告)号
KR100355940B1
申请日
2001-07-30
公开(公告)日
2002-09-26
当前申请(专利权)人
가부시키가이샤 한도오따이 에네루기 켄큐쇼
发明人
ZHANG, HONGYONG
简单同族
JP1997179130A | JP3737176B2 | KR100355939B1 | KR100355940B1 | KR100383163B1 | KR1019970048811A | US20040179164A1 | US20090021684A1 | US20110309369A1 | US20120299008A1 | US20140176842A1 | US5995189 | US7333172 | US7394516 | US7956978 | US8194224 | US8665411 | US9316880
简单同族成员数量
18
简单同族被引用专利总数
178
诉讼案件数
0
法律状态/事件
期限届满
抱歉,您的浏览器不支持PDF预览,请点击链接下载PDF文件