专利数据库
统计分析
产业报告
专利数据监控
产业人才
行业动态
产业政策法规
维权援助
个人中心
详情
文本
图像
标题
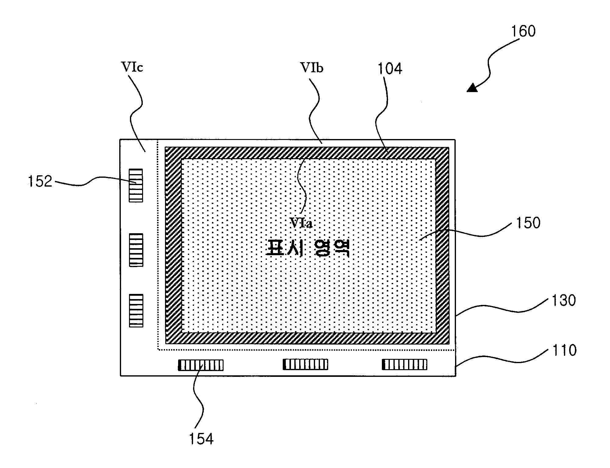
콜레스테릭 액정 컬러필터를 가지는 반사형 액정표시장치
授权日
1900-01-01
公开(公告)号
KR1020030039938A
申请日
2001-11-16
公开(公告)日
2003-05-22
当前申请(专利权)人
엘지디스플레이 주식회사
发明人
이준호
简单同族
KR100814339B1 | KR1020030039938A | US20030095219A1 | US20050041183A1 | US20050057709A1 | US20050062908A1 | US6809786 | US7126656 | US7405792 | US7710532
简单同族成员数量
10
简单同族被引用专利总数
76
诉讼案件数
0
法律状态/事件
未缴年费
抱歉,您的浏览器不支持PDF预览,请点击链接下载PDF文件