专利数据库
统计分析
产业报告
专利数据监控
产业人才
行业动态
产业政策法规
维权援助
个人中心
详情
文本
图像
标题
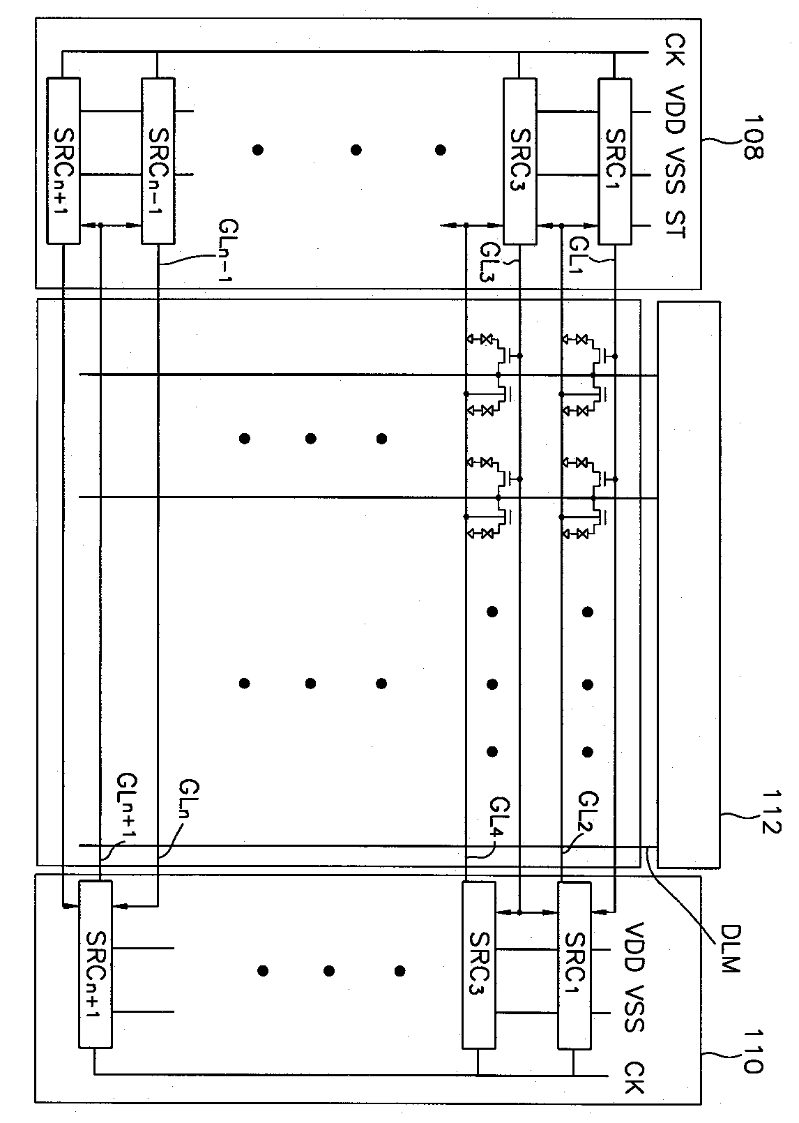
액정표시장치
授权日
2008-02-04
公开(公告)号
KR100803163B1
申请日
2001-09-03
公开(公告)日
2008-02-14
当前申请(专利权)人
삼성전자주식회사
发明人
이동호 | 전진
简单同族
CN1308906C | CN1407527A | JP2003076346A | JP4163416B2 | KR100803163B1 | KR1020030020185A | US20030043104A1 | US7522145
简单同族成员数量
8
简单同族被引用专利总数
257
诉讼案件数
0
法律状态/事件
授权 | 权利转移
抱歉,您的浏览器不支持PDF预览,请点击链接下载PDF文件