专利数据库
统计分析
产业报告
专利数据监控
产业人才
行业动态
产业政策法规
维权援助
个人中心
详情
文本
图像
标题
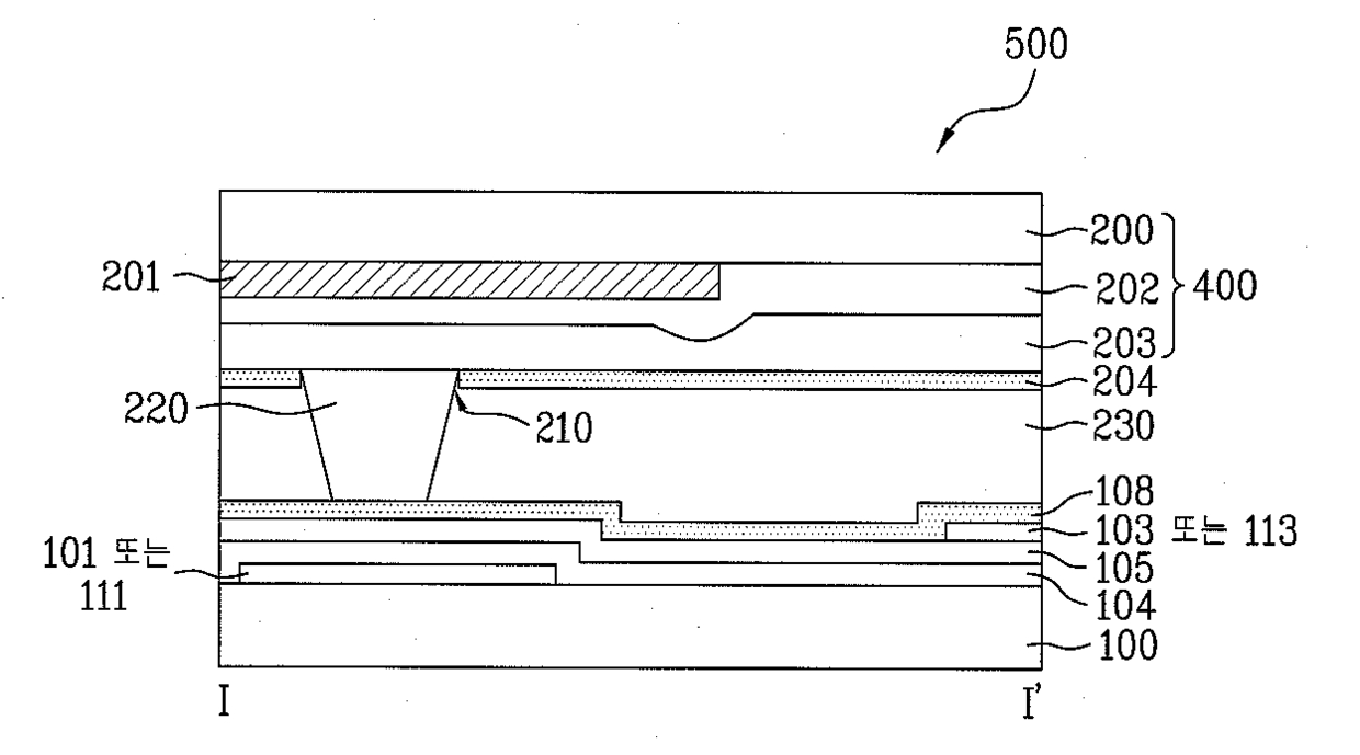
액정 표시 장치 및 이의 제조 방법
授权日
1900-01-01
公开(公告)号
KR1020060110936A
申请日
2005-04-20
公开(公告)日
2006-10-26
当前申请(专利权)人
엘지디스플레이 주식회사
发明人
YOON, SUNG HOE
简单同族
CN1854867A | CN1854867B | DE102005060982A1 | DE102005060982B4 | FR2884935A1 | FR2884935B1 | GB0525056D0 | GB2425391A | GB2425391B | JP2006301575A | JP4496159B2 | KR1020060110936A | TW200638092A | TWI334500B | US20060238693A1 | US20100253894A1 | US7880855 | US7907242
简单同族成员数量
18
简单同族被引用专利总数
52
诉讼案件数
0
法律状态/事件
驳回 | 复审
抱歉,您的浏览器不支持PDF预览,请点击链接下载PDF文件