专利数据库
统计分析
产业报告
专利数据监控
产业人才
行业动态
产业政策法规
维权援助
个人中心
详情
文本
图像
标题
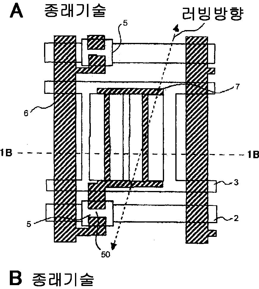
액정 표시 장치 및 그 제조 방법
授权日
2007-08-01
公开(公告)号
KR100747357B1
申请日
2005-02-22
公开(公告)日
2007-08-07
当前申请(专利权)人
엔엘티 테크놀로지 가부시키가이샤
发明人
타카하시소우노스케 | 오카모토마모루 | 니시다신이치
简单同族
CN100399165C | CN100580526C | CN101055371A | CN1661449A | JP2005241923A | JP4394479B2 | KR100747357B1 | KR1020060043046A | TW200528889A | TWI273328B | US20050190316A1 | US7936428
简单同族成员数量
12
简单同族被引用专利总数
90
诉讼案件数
0
法律状态/事件
授权
抱歉,您的浏览器不支持PDF预览,请点击链接下载PDF文件