专利数据库
统计分析
产业报告
专利数据监控
产业人才
行业动态
产业政策法规
维权援助
个人中心
详情
文本
图像
标题
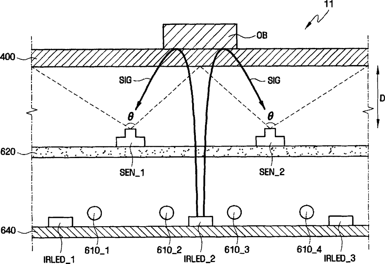
液晶显示器、显示系统和识别物体的方法
授权日
2013-02-13
公开(公告)号
CN101533170B
申请日
2009-03-05
公开(公告)日
2013-02-13
当前申请(专利权)人
三星显示有限公司
发明人
高桥盛毅 | 柳凤铉 | 崔喜轸 | 金相洙 | 金庸辉
简单同族
CN101533170A | CN101533170B | EP2101251A2 | EP2101251A3 | JP2009223317A | JP2014130374A | KR101493840B1 | KR1020090098446A | US20090231497A1 | US8189128
简单同族成员数量
10
简单同族被引用专利总数
68
诉讼案件数
0
法律状态/事件
授权 | 权利转移
抱歉,您的浏览器不支持PDF预览,请点击链接下载PDF文件