专利数据库
统计分析
产业报告
专利数据监控
产业人才
行业动态
产业政策法规
维权援助
个人中心
详情
文本
图像
标题
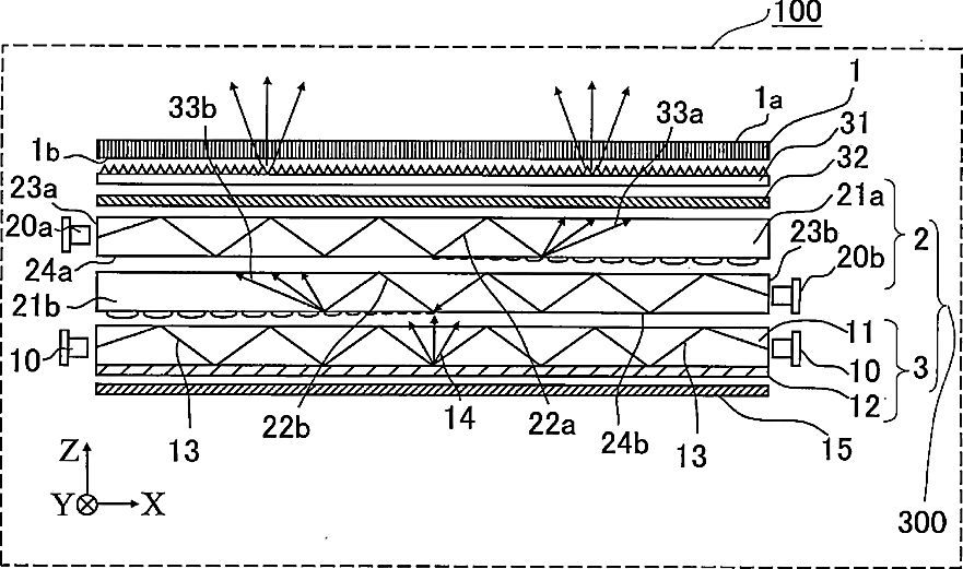
Backlight device and liquid crystal display apparatus
授权日
1900-01-01
公开(公告)号
US20130033901A1
申请日
2011-04-14
公开(公告)日
2013-02-07
当前申请(专利权)人
MITSUBISHI ELECTRIC CORPORATION
发明人
NISHITANI, RENA | SASAGAWA, TOMOHIRO | NIIKURA, EIJI | KOJIMA, KUNIKO | SOMEYA, JUN | SUGIURA, HIROAKI | TSUTSUMI, KAZUHIKO | NAGASE, AKIHIRO
简单同族
CN102844608A | CN102844608B | EP2559931A1 | EP2559931A4 | JP2013030493A | JP5132819B2 | JP5523538B2 | JPWO2011129117A1 | KR101427503B1 | KR1020120138809A | TW201142436A | TWI474082B | US20130033901A1 | US8783932 | WO2011129117A1
简单同族成员数量
15
简单同族被引用专利总数
75
诉讼案件数
0
法律状态/事件
授权 | 权利转移
抱歉,您的浏览器不支持PDF预览,请点击链接下载PDF文件