专利数据库
统计分析
产业报告
专利数据监控
产业人才
行业动态
产业政策法规
维权援助
个人中心
详情
文本
图像
标题
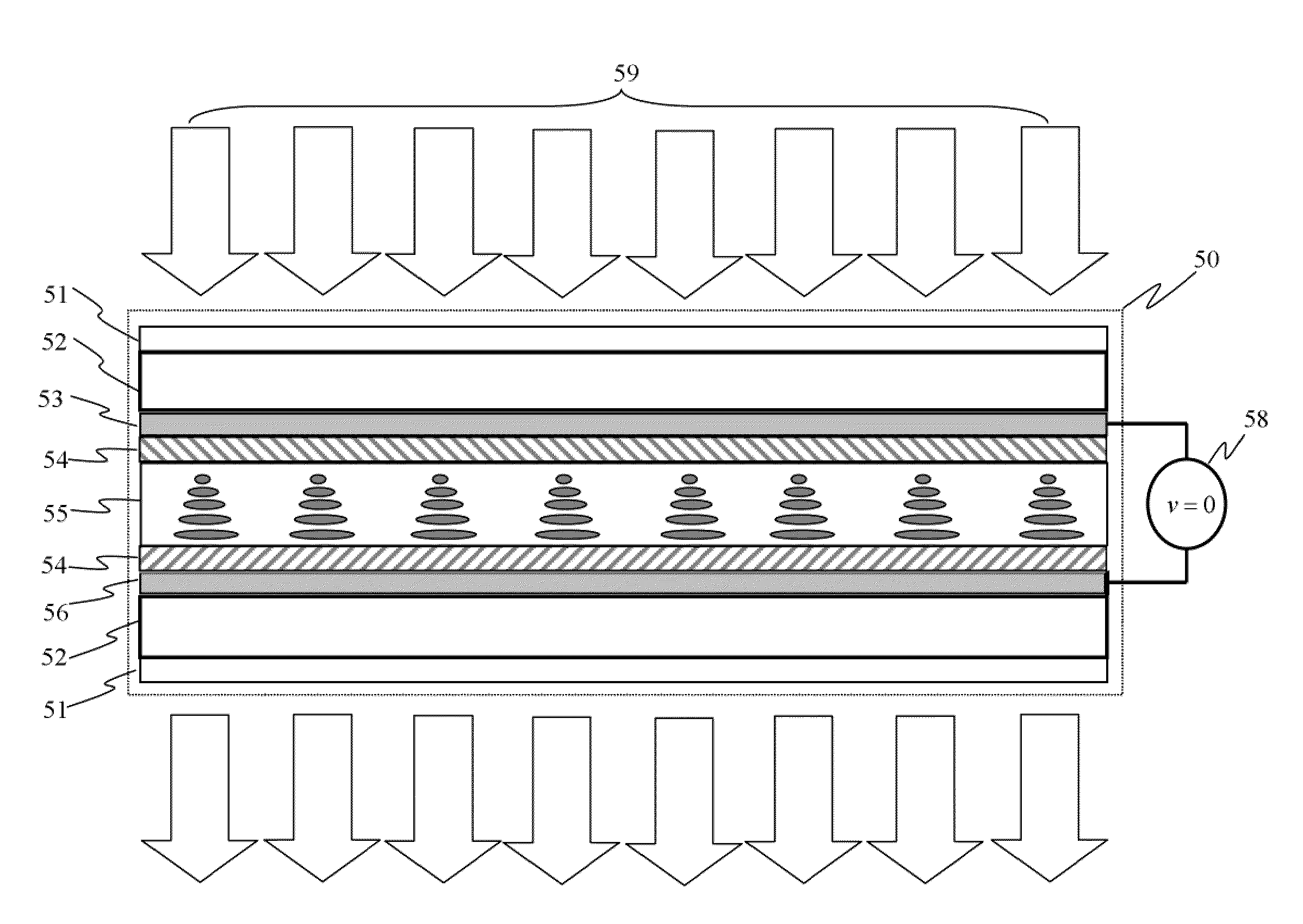
Multi-functional liquid crystal parallax barrier device
授权日
1900-01-01
公开(公告)号
US20110170026A1
申请日
2011-01-10
公开(公告)日
2011-07-14
当前申请(专利权)人
UNIQUE INSTRUMENTS CO.LTD
发明人
LIN, MING-YEN
简单同族
JP2011141546A | TW201124769A | TWI391738B | US20110170026A1
简单同族成员数量
4
简单同族被引用专利总数
66
诉讼案件数
0
法律状态/事件
撤回 | 权利转移
抱歉,您的浏览器不支持PDF预览,请点击链接下载PDF文件