专利数据库
统计分析
产业报告
专利数据监控
产业人才
行业动态
产业政策法规
维权援助
个人中心
详情
文本
图像
标题
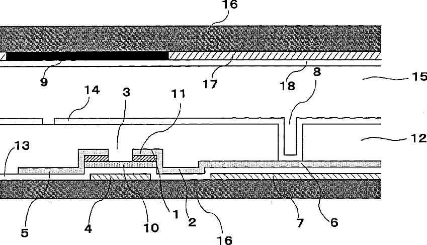
Active matrix substrate and display device
授权日
1900-01-01
公开(公告)号
US20110279764A1
申请日
2011-08-01
公开(公告)日
2011-11-17
当前申请(专利权)人
SHARP KABUSHIKI KAISHA
发明人
KURIHARA, RYUJI | HISADA, YUHKO | TSUBATA, TOSHIHIDE | TAKEUCHI, MASANORI | OHTSUBO, TOMOKAZU
简单同族
CN100504558C | CN1648757A | JP2005242306A | JP4108078B2 | KR100719423B1 | KR1020050077738A | TW200527089A | TWI275887B | US20050162599A1 | US20080192161A1 | US20110279764A1 | US7375773 | US8031282 | US8593582
简单同族成员数量
14
简单同族被引用专利总数
55
诉讼案件数
0
法律状态/事件
授权 | 权利转移
抱歉,您的浏览器不支持PDF预览,请点击链接下载PDF文件