专利数据库
统计分析
产业报告
专利数据监控
产业人才
行业动态
产业政策法规
维权援助
个人中心
详情
文本
图像
标题
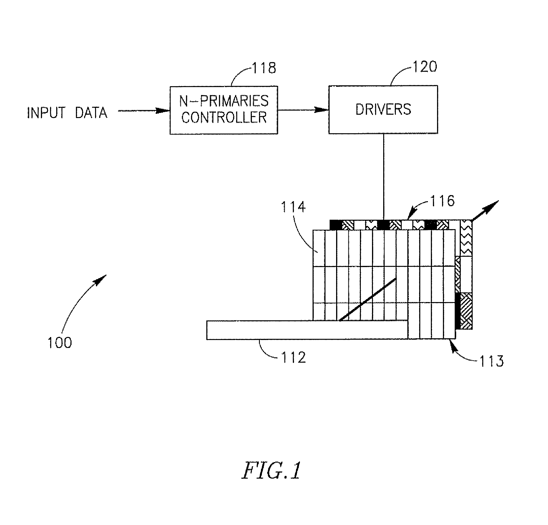
Multi-color liquid crystal display
授权日
1900-01-01
公开(公告)号
US20130258260A1
申请日
2013-05-24
公开(公告)日
2013-10-03
当前申请(专利权)人
SAMSUNG DISPLAY CO., LTD.
发明人
ROTH, SHMUEL | BEN-CHORIN, MOSHE | MALKA, DORON | ELIAV, DAN
简单同族
US20080030660A1 | US20090128755A1 | US20110037929A1 | US20130258260A1 | US20150116390A1 | US7495722 | US8179502 | US8451405 | US8934072 | US9478179
简单同族成员数量
10
简单同族被引用专利总数
84
诉讼案件数
0
法律状态/事件
授权 | 权利转移
抱歉,您的浏览器不支持PDF预览,请点击链接下载PDF文件