专利数据库
统计分析
产业报告
专利数据监控
产业人才
行业动态
产业政策法规
维权援助
个人中心
详情
文本
图像
标题
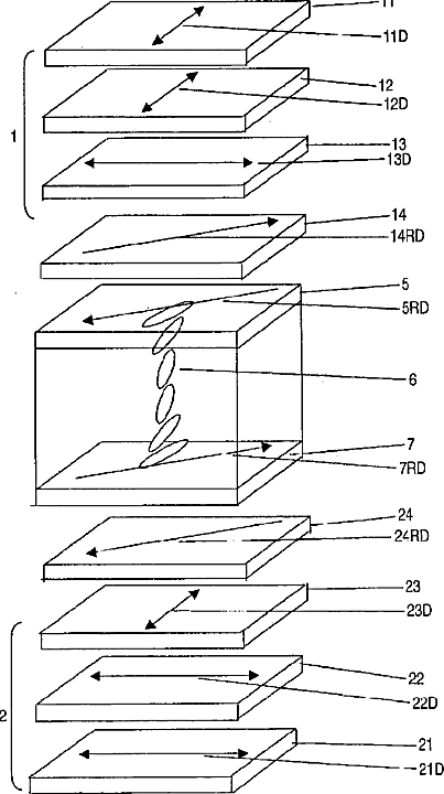
Polarizing plate and liquid crystal display
授权日
1900-01-01
公开(公告)号
US20110242462A1
申请日
2011-06-15
公开(公告)日
2011-10-06
当前申请(专利权)人
FUJIFILM CORPORATION
发明人
HIRAKATA, JUNICHI | WADA, MINORU | SAITOH, YUKITO | OHASHI, YUSUKE | OHMURO, KATSUFUMI
简单同族
CN101432645A | CN101432645B | CN102289105A | EP1991892A1 | KR1020080114703A | TW200745633A | TWI447443B | US20100231830A1 | US20110242462A1 | US7982826 | US8400592 | WO2007100143A1
简单同族成员数量
12
简单同族被引用专利总数
104
诉讼案件数
0
法律状态/事件
授权
抱歉,您的浏览器不支持PDF预览,请点击链接下载PDF文件