专利数据库
统计分析
产业报告
专利数据监控
产业人才
行业动态
产业政策法规
维权援助
个人中心
详情
文本
图像
标题
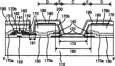
透反式液晶显示装置及其制作方法
授权日
2006-10-18
公开(公告)号
CN1280668C
申请日
2002-08-22
公开(公告)日
2006-10-18
当前申请(专利权)人
乐金显示有限公司
发明人
河京秀 | 金雄权 | 金东国
简单同族
CN1280668C | CN1417622A | JP2003140190A | JP3815784B2 | KR100820647B1 | KR1020030034855A | TW583487B | US20030081159A1 | US6654076
简单同族成员数量
9
简单同族被引用专利总数
146
诉讼案件数
0
法律状态/事件
未缴年费 | 权利转移
抱歉,您的浏览器不支持PDF预览,请点击链接下载PDF文件