专利数据库
统计分析
产业报告
专利数据监控
产业人才
行业动态
产业政策法规
维权援助
个人中心
详情
文本
图像
标题
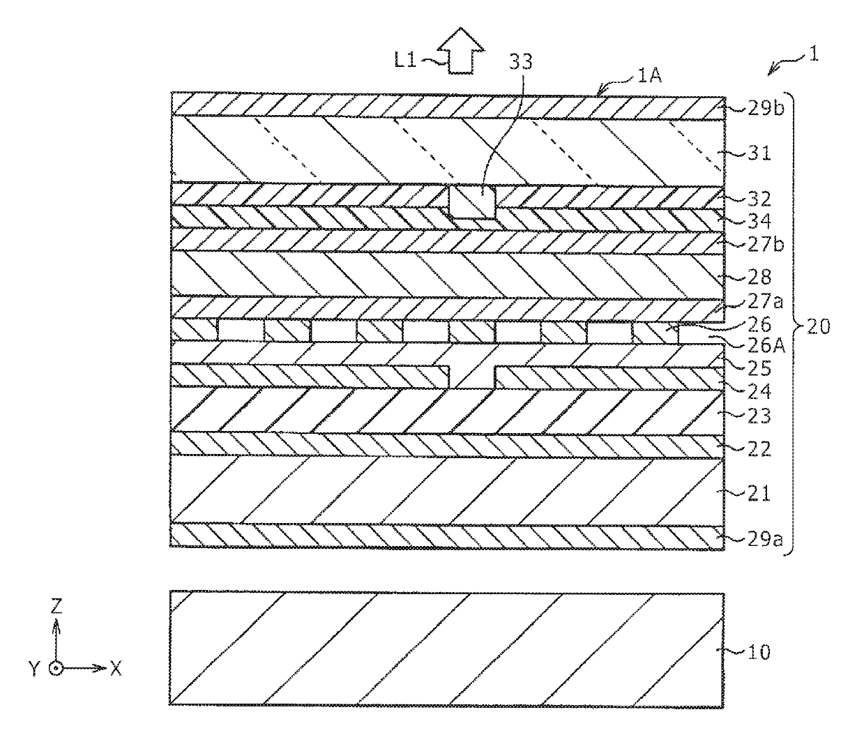
Display device, electronic apparatus, and method of manufacturing display device
授权日
1900-01-01
公开(公告)号
US20190294010A1
申请日
2019-06-07
公开(公告)日
2019-09-26
当前申请(专利权)人
JAPAN DISPLAY INC.
发明人
MATSUSHIMA, TOSHIHARU
简单同族
CN103076697A | CN103076697B | CN106896593A | JP2013109309A | JP5937389B2 | KR1020130045180A | KR102017893B1 | TW201317694A | TWI494671B | US10473988 | US20130100388A1 | US20160161811A1 | US20180107077A1 | US20190294010A1 | US9298051 | US9874792
简单同族成员数量
16
简单同族被引用专利总数
67
诉讼案件数
0
法律状态/事件
实质审查
抱歉,您的浏览器不支持PDF预览,请点击链接下载PDF文件