专利数据库
统计分析
产业报告
专利数据监控
产业人才
行业动态
产业政策法规
维权援助
个人中心
详情
文本
图像
标题
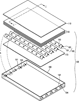
背光组件以及采用该组件的液晶显示器件
授权日
2010-01-06
公开(公告)号
CN100578315C
申请日
2006-10-25
公开(公告)日
2010-01-06
当前申请(专利权)人
乐金显示有限公司
发明人
金亨东 | 全旭
简单同族
CN100578315C | CN101063766A | KR101252846B1 | KR1020070106134A | US20070253219A1 | US8052295
简单同族成员数量
6
简单同族被引用专利总数
68
诉讼案件数
0
法律状态/事件
授权
抱歉,您的浏览器不支持PDF预览,请点击链接下载PDF文件