专利数据库
统计分析
产业报告
专利数据监控
产业人才
行业动态
产业政策法规
维权援助
个人中心
详情
文本
图像
标题
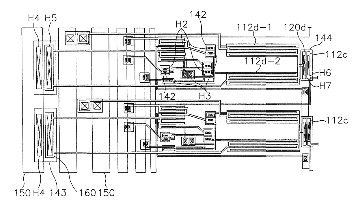
Amorphous silicon thin film transistor-liquid crystal display device and method of manufacturing the same
授权日
2019-02-26
公开(公告)号
US10216053
申请日
2016-09-27
公开(公告)日
2019-02-26
当前申请(专利权)人
SAMSUNG DISPLAY CO., LTD.
发明人
KIM, DONG-GYU
简单同族
AU2002361508A1 | CN100478752C | CN1618037A | JP2005527856A | JP2005527856A5 | JP4533132B2 | KR100846464B1 | KR1020030091571A | TW200307167A | TWI282478B | US10216053 | US10338443 | US20030222311A1 | US20050263762A1 | US20080259237A1 | US20140106515A1 | US20170017106A1 | US20190146260A1 | US6922217 | US7379148 | US8619207 | US9454049 | WO2003100511A1
简单同族成员数量
23
简单同族被引用专利总数
177
诉讼案件数
0
法律状态/事件
授权
抱歉,您的浏览器不支持PDF预览,请点击链接下载PDF文件