专利数据库
统计分析
产业报告
专利数据监控
产业人才
行业动态
产业政策法规
维权援助
个人中心
详情
文本
图像
标题
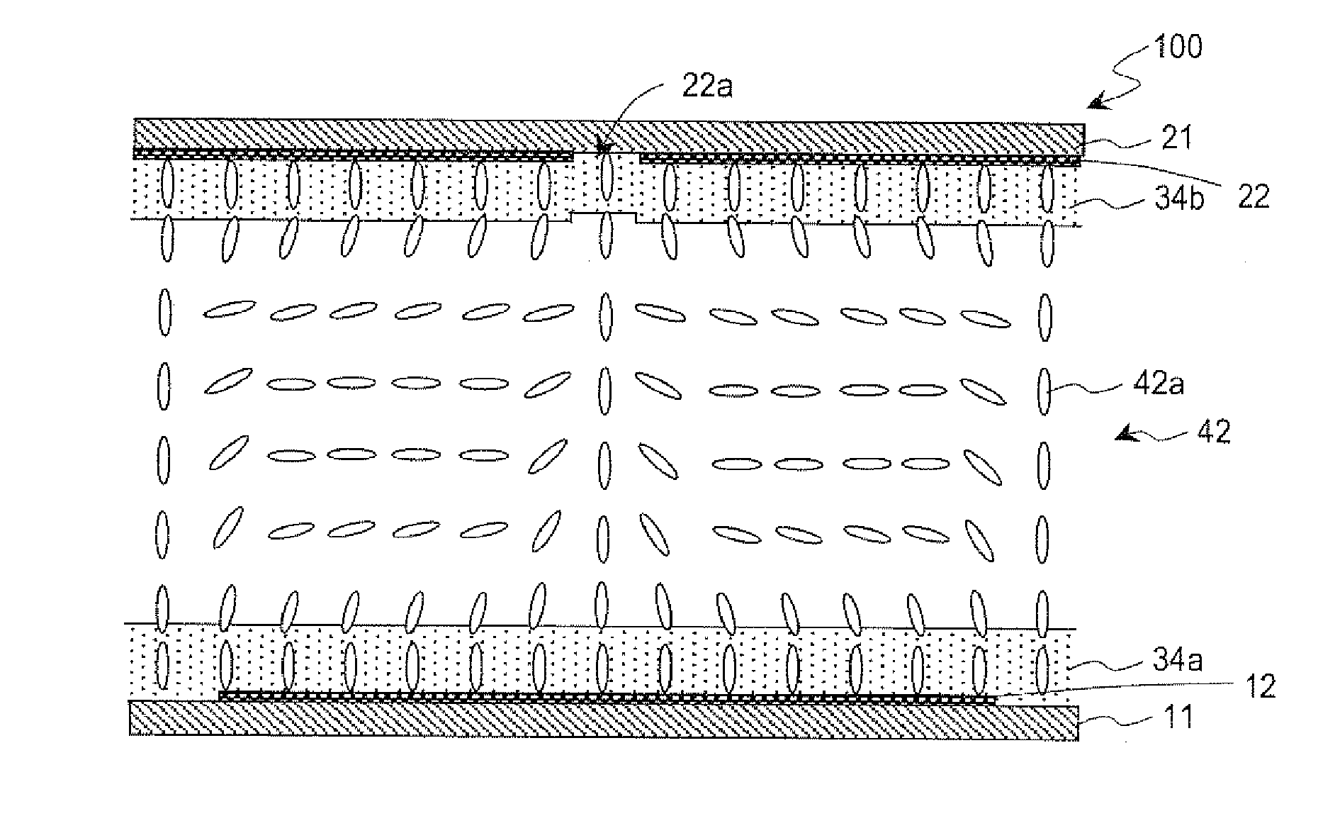
Liquid crystal display device
授权日
1900-01-01
公开(公告)号
US20120127407A1
申请日
2011-12-02
公开(公告)日
2012-05-24
当前申请(专利权)人
MERCK PATENT GMBH
发明人
USUI, KENTARO | TANUMA, SEIJI | HANAOKA, KAZUTAKA | NAKAMURA, KIMIAKI
简单同族
CN101821670A | CN101821670B | CN102364386A | CN102364386B | EP2202565A1 | EP2202565A4 | JP2012177935A | JP5000722B2 | JP5476427B2 | JPWO2009050869A1 | KR101169149B1 | KR1020100060036A | US20100302491A1 | US20120127407A1 | US8092871 | US8361570 | WO2009050869A1
简单同族成员数量
17
简单同族被引用专利总数
56
诉讼案件数
0
法律状态/事件
授权 | 权利转移
抱歉,您的浏览器不支持PDF预览,请点击链接下载PDF文件