专利数据库
统计分析
产业报告
专利数据监控
产业人才
行业动态
产业政策法规
维权援助
个人中心
详情
文本
图像
标题
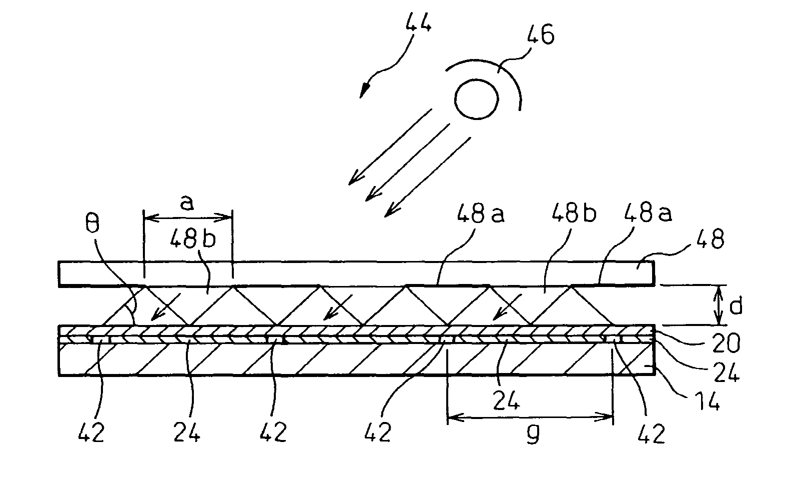
Liquid crystal display device treated by UV irradiation
授权日
2011-12-27
公开(公告)号
US8085373
申请日
2011-04-11
公开(公告)日
2011-12-27
当前申请(专利权)人
SHARP KABUSHIKI KAISHA
发明人
CHIDA, HIDEO | YOSHIDA, HIDEFUMI | TASAKA, YASUTOSHI
简单同族
JP2003043492A | JP2003043492A5 | JP4334166B2 | US20030025864A1 | US20060227272A1 | US20070285606A1 | US20080291388A1 | US20100277680A1 | US20110187974A1 | US20120077115A1 | US20130189626A1 | US7081935 | US7251001 | US7430033 | US7782430 | US7944532 | US8085373 | US8400595 | US8681300
简单同族成员数量
19
简单同族被引用专利总数
92
诉讼案件数
0
法律状态/事件
授权
抱歉,您的浏览器不支持PDF预览,请点击链接下载PDF文件